Adjusting Tongue to Tractor Drawbar

To meet all tractor drawbar hitch configurations the tongue is adjustable.

IMPORTANT: Before adjusting the tongue, be sure that:

  • the wheel spindles are in the correct position

  • the tires inflation is correct

  • the gate is completely closed

1. Park tractor and baler on a level ground.

2. Detach baler from tractor.

3. Install a spirit level (A) on gate reinforcement (B).

4. Adjust baler in horizontal position using the spirit level and the jackstand.

5. Measure distance (C).

6. Measure distance (D).

7. Calculate and record the value "H":

H = (D) - (E) - (C)

Specification

Front clevis height correction (E) -Height 15 mm (0.6 in.)

  • If H <= 80 mm (3.15 in.), go to step 19.
  • If H >80 mm (3.15 in.), continue.

NOTE: (E) is the correction for the front clevis height.

8. Calculate and record the value "T":

T = H / 140 mm (5.5 in.)

T is the number of tongue frame teeth to jump. T must be rounded to the closer unit.

CC1026417
CC1026619


A-Spirit level
B-Gate reinforcement
C-Drawbar height
D-Front clevis screw height
E-Front clevis height correction

CC03745,0000AC3 -19-07JUN05-1/4


9. Remove shield (A) screws.

10. Remove front clevis (D).

11. Draw a mark between the frame and each tongue frame.

12. Remove lock nut (F) from left tongue frame (B).

13. Loosen nut (E).

14. Raise or lower tongue frame by "T" teeth, using the mark as a start point.

15. Tighten nut (E).

16. Repeat step 12 to 15 to adjust the right hand tongue frame.

17. Check that the two tongue frames are at the same level.

18. Install front clevis (D).

19. Set front clevis (D) as horizontal as possible with baler attached to the tractor.

20. Tighten tongue frame fixing nuts (E), lock nuts (F) and front clevis fixing screw (C) to specified torque.

Specification

Tongue Frame Fixing Nut -Torque 700 N·m (516 lb-ft)
Tongue Frame Lock Nut -Torque 300 N·m (221 lb-ft)
Front Clevis Fixing Screw -Torque 620 N·m (450 lb-ft)

CC1026419
CC1026420


A-Shield
B-Tongue frame
C-Front clevis fixing screw
D-Front clevis
E-Nut
F-Lock nut

CC03745,0000AC3 -19-07JUN05-2/4


NOTE: Make sure that all rings are engaged (not standing tip to tip) when tightening screw (C) and nuts (E) and (F).

IMPORTANT: Slowly and carefully perform a short test with baler attached to the tractor and check that there is absolutely no interference between tongue frame (B) and hook-up in short turns, otherwise major damage on hook-up will occur.

CC03745,0000AC3 -19-07JUN05-3/4


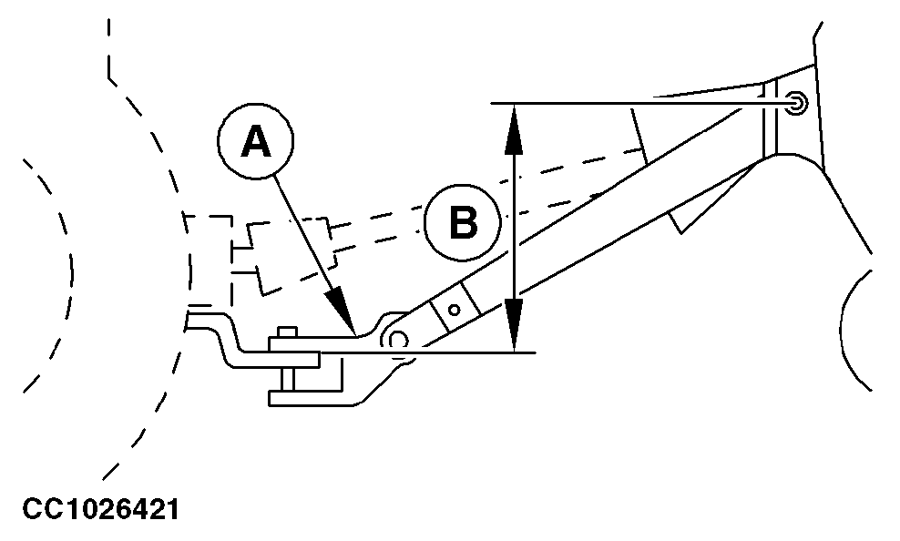
IMPORTANT: Maximum allowed offset (B) between tongue base articulation and front clevis (A) should meet specification.

Specification

Front Clevis to Tongue Base Articulation -Maximum offset 700 mm (2 ft 3.5 in.)

21. If necessary, modify the wheel spindles position or if the drawbar is angled, turn it upside down to increase the front clevis height.

22. Adjust bale discharging ramp. (See "Adjusting Bale Discharging Ramp" in this section.)

CC1026421


A-Front Clevis
B-Offset

CC03745,0000AC3 -19-07JUN05-4/4