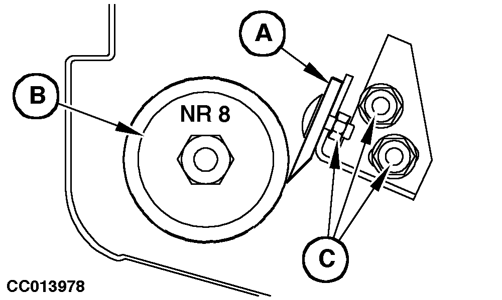
Adjusting Lower Rear Gate Roll (NR 8) Scraper

Unscrew fixing screws (C) to adjust scraper (A).

Adjust scraper (A) so that it is in contact with roll NR 8 (B).

Tighten fixing screws (C) screws to 55 N·m (40 lb-ft).

IMPORTANT: Make sure that scraper (A) is in contact all along the roll NR 8 width.

CC013978

CC,570RB004257 -19-01SEP98-1/1