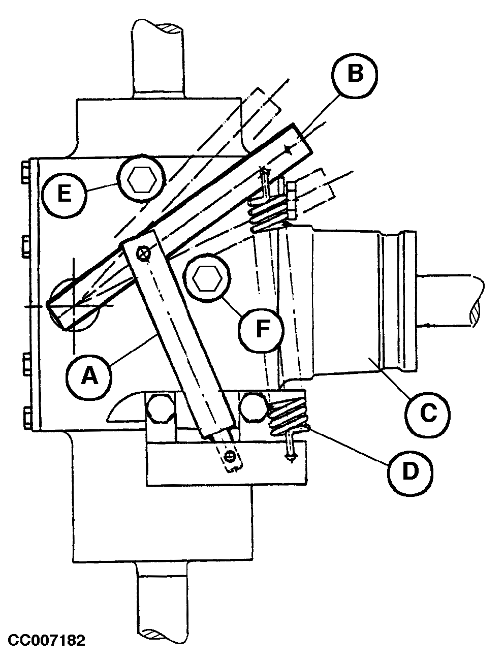
Adjusting Gear Case Hydraulic Cylinder Stroke (Baler with Precutter Device Only)

Single-acting hydraulic cylinder (A) controls via lever (B) in gear case (C) the sliding gear for switching precutter rotor from forward to reverse.

Adjust hydraulic cylinder stroke as follows:

Check that precutter is not in reverse operating mode as the hydraulic cylinder rod (A) must be fully retracted. See "Reversing Precutter Rotor" in "Operating BaleTrak Monitor" section.

Disconnect spring (D).

Turn lever (B) to extend position until it contacts internal stop in gear case. In this position turn cam disk (E) until it contacts lever (B).

Turn out lever (B) approx. 2.5 to 3 mm (0.10 to 0.12 in.) and turn cam disk (E) until it contacts lever (B) again.

Use similar procedure for adjusting lever (B) retract position using cam disk (F).

Reinstall spring (D).


A-Hydraulic cylinder
B-Lever
C-Gear case
D-Spring
E-Cam disk
F-Cam disk

CC007182

OUCC006,000031D -19-13FEB01-1/1