Adjusting Bale Shape Senders (Baler without BaleTrak Control Monitor)

Adjust bale shape senders as follows:

Close the gate.

Adjust bale shape roller (A) until a distance (B) of 10 mm (0.4 in.) is obtained as shown on illustration.

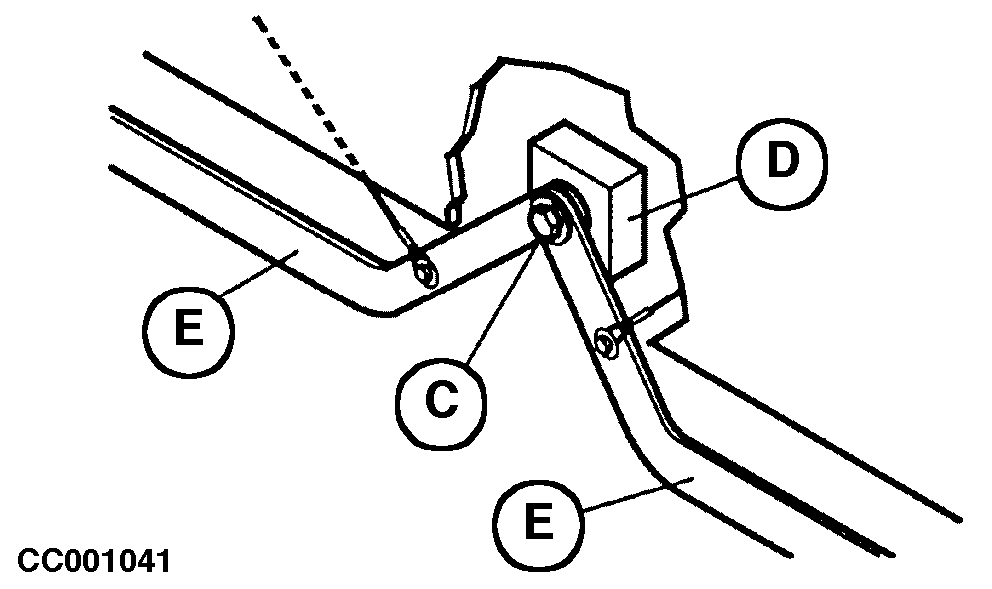
Loosen fixing screw (C). Move adjusting plate (D) up or down and/or to right or left-hand side to position bale shape indicators (E) horizontally.

Once bale shape indicators (E) are in correct position, retighten fixing screw (C).


A-Roller
B-10 mm (0.4 in.)
C-Screw
D-Plate
E-Bale shape indicators

CC001040
CC006923
CC001041

OUCC006,0000339 -19-11JUL02-1/1