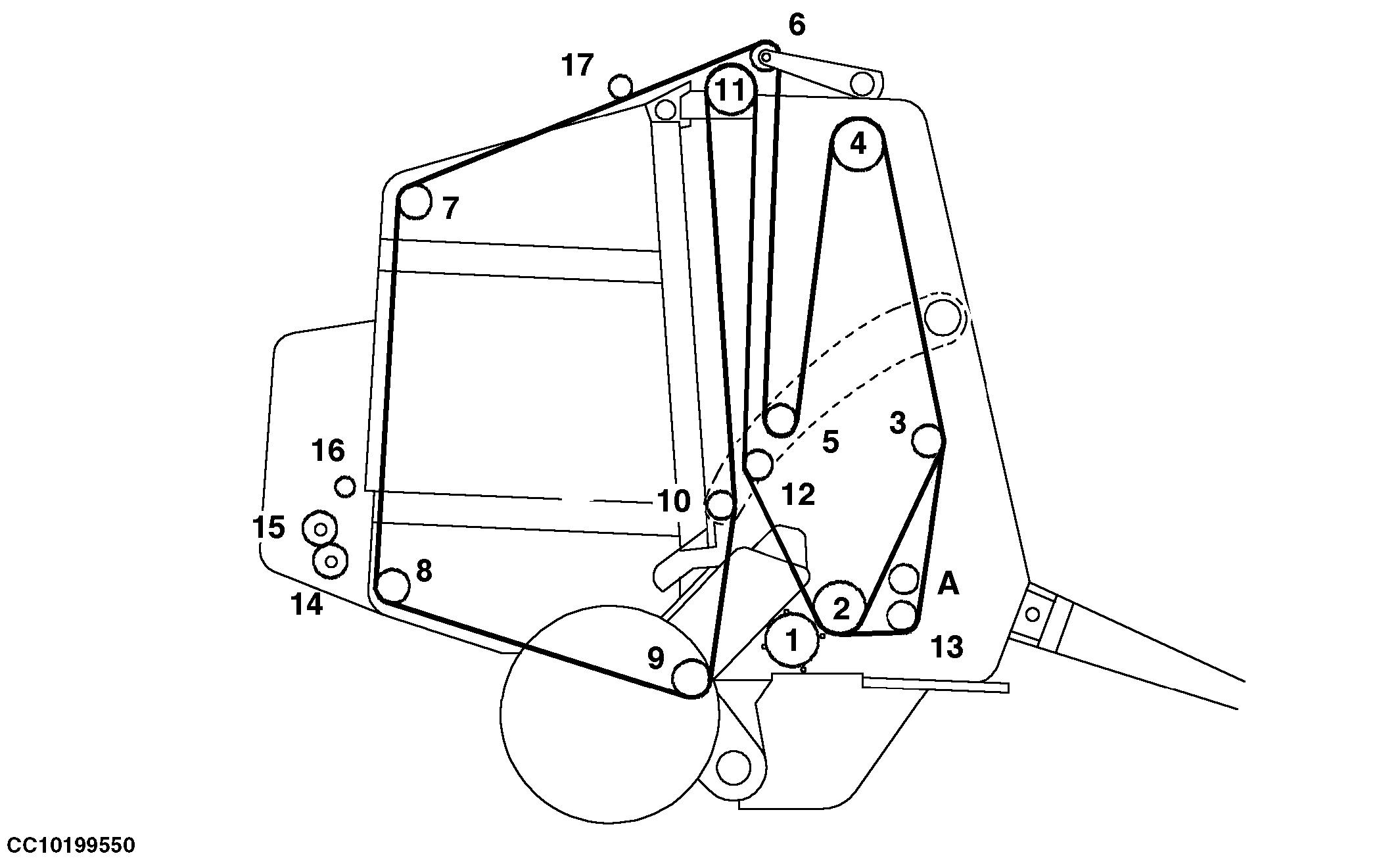
Baler Roll Numbering (582 and 592 Only)

CC1019550


1-Starter roll
2-Lower belt drive roll
3-Front idler roll
4-Upper belt drive roll
5-Front tension arm idler roll


6-Top arm roll
7-Upper rear gate roll
8-Lower rear gate roll
9-Lower front gate roll
10-Rear tension arm idler roll


11-Top idler roll
12-Center tension arm idler roll
13-Belt staggering roll
14-Galvanized net feed roll


15-Rubber net feed roll
16-Net guide roll
17-Upper rear gate idler roll
A-Cleaning auger

NOTE: Numbers shown above must not be used when ordering roll replacement parts. Always refer to relevant parts catalog.

OUCC006,0000361 -19-02APR01-1/1