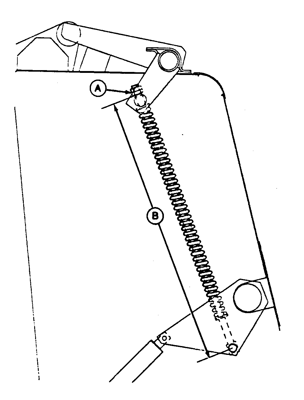
Adjusting Upper Arm Spring (582 or 592 Baler without Precutter Device)

If spring has been replaced or lock nuts have been removed, adjust spring as follows:

Close the gate and lower the belt tension arm.

Adjust lock nuts (A) until dimension (B) is:

Specification

Upper arm spring (582 baler without precutter device) -Length 694 ± 1.5 mm (27.32 ± 0.06 in.)
Upper arm spring (592 baler without precutter device) -Length 973 ± 1.5 mm (38.30 ± 0.06 in.)

E36256

OUCC006,0000365 -19-02APR01-1/1