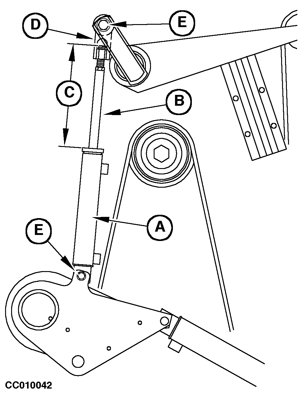
Adjusting Upper Arm Cylinder (582 Baler Only)

If hydraulic cylinder (A) has been replaced, adjust cylinder as follows:

Close the gate and lower the belt tension arm.

Pull out cylinder rod (B) until dimension (C) is:

Specification

Upper arm cylinder (582 baler only) -Length 255 mm (10.04 in.)

Install and screw in strap (D) so that it is possible to install cylinder fixing screws (E).


A-Hydraulic cylinder
B-Cylinder rod
C-255 mm (10.04 in.)
D-Strap
E-Fixing screws

CC010042

OUCC006,0000367 -19-02APR01-1/1