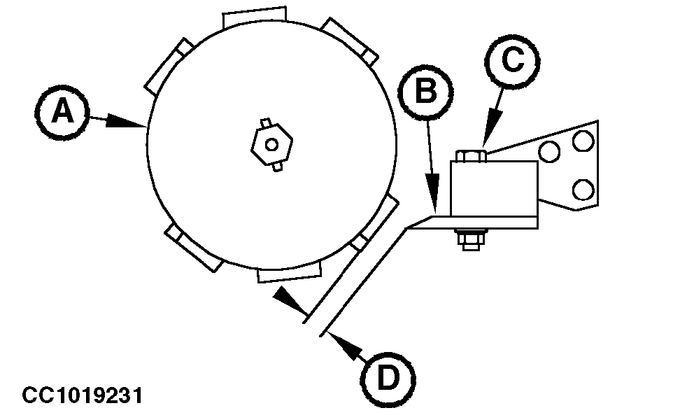
Adjusting Starter Roll (NR 1) Scraper (Baler without Precutter Device)

In very damp conditions or when baling silage adjust scraper (B) as close as possible to starter roll (A), leaving enough space (D) to avoid any contact with starter roll.

Loosen screws (C) then adjust space (D).

Tighten screws (C) to 140 N·m (103 lb-ft).

NOTE: When using rubber covered bars or shells, move scraper (B) away from starter roll (A).

CC1019231


A-Starter roll
B-Scraper
C-Mounting screws
D-Space

OUCC006,0000393 -19-03APR01-1/1