Checking Net Cut Switch Adjustment (Test 8)

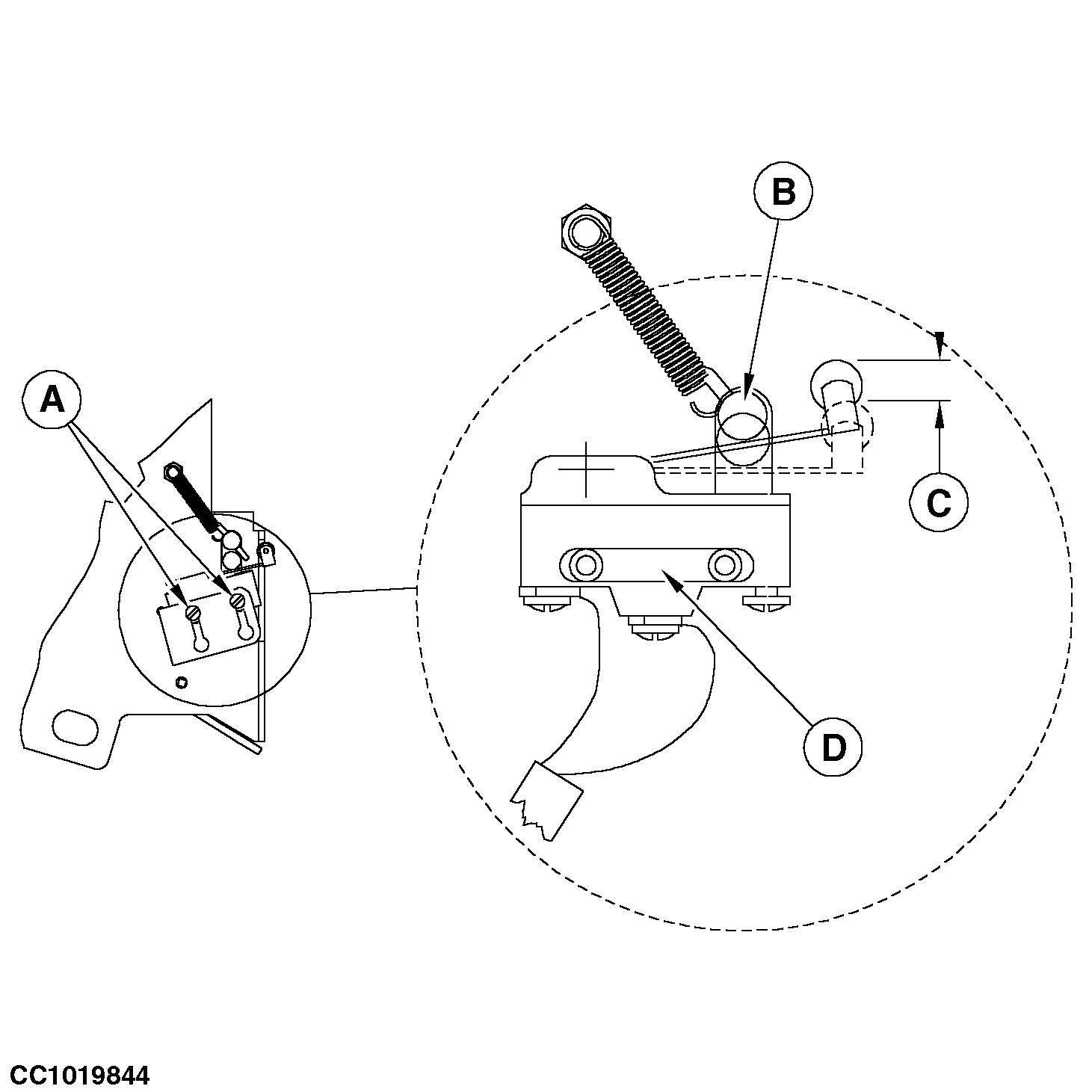
CC1019844


A-Fixing screws


B-Stud


C-2 mm (0.08 in.)


D-Net cut switch

IMPORTANT: Prior to carry out this test, make sure that test 1 to 7 results are "OK". Proceed to the relevant tests described in this Section.

Proceed as follows:

Check that net cut switch (D) is activated after a 2 mm (0.08 in.) displacement (C) of stud (B). If not, loosen switch fixing screws (A) and readjust switch position accordingly.

Proceed to test 9.

OUCC006,00003E1 -19-10MAY01-1/1