Install BaleTrak or ELC Monitor Support (6000, 7000 and 8000 Series Tractors Only)

Remove the top two plugs from the lower right-hand cab post.

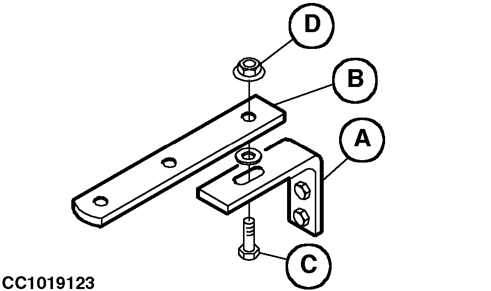
Install angle (A) to cab post. Fasten with two M10x20 flange screws.

Install monitor strap (B) to angle (A). Fasten with M10x35 cap screw (C), washer and flange nut (D).

Install monitor to monitor strap (B).


A-Angle
B-Monitor strap
C-Cap screw
D-Flange nut

CC000836
CC1019123

OUCC006,000066B -19-29APR02-1/1