Setting Twine Tying

Setting Twine spacing

Press "TWINE SPACING/NUMBER OF NET TURNS" key (A). The last space between coils (B) setting is displayed for five seconds.

While the space between coils is displayed, press "PLUS" or "MINUS" key to increase or decrease the space from 1 to 15 cm (0.5 to 6 in.).

The last twine spacing displayed is stored after five seconds.

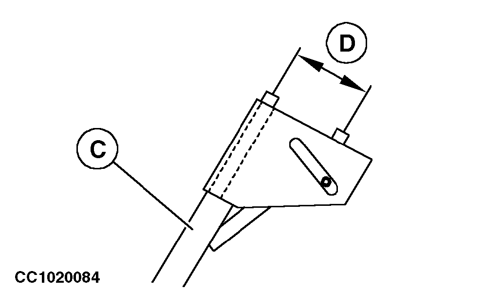
The twine spacing displayed is given for two twine tying. When using only one twine, real twine spacing will be the double of the value displayed.

IMPORTANT: When using two twines, the distance selected on monitor must be the same as the space (D) between the two tubes of the twine arm (C) (See "Adjusting Twine Spacing" in "Operating the Baler - General Purpose" Section).


A-Twine/net density key
B-Space between coils
C-Twine arm
D-Space

CC1020079
CC1020084

OUCC006,000068C -19-07MAY02-1/4


Setting Number of Twine Coils at Tying Start (Right-Hand Side)

Press "TYING START" key (A). The last number of twine coils at tying start (B) is displayed for five seconds.

While the number of twine coils at tying start is displayed, press "PLUS" or "MINUS" key to increase or decrease the number of coils from 1 to 5.

The number of twine coils at tying start displayed is stored after five seconds.


A-Tying start key
B-Number of twine coils at tying start

CC1019916

OUCC006,000068C -19-07MAY02-2/4


Setting Number of Twine Coils at Tying End (Left-Hand Side)

Press "TYING END" key (A). The last number of coils at tying end (B) is displayed for five seconds.

While the number of twine coils at tying end is displayed, press "PLUS" or "MINUS" key to increase or decrease the number of coils from 1 to 5.

The number of twine coils at tying end displayed is stored after five seconds.


A-Tying end key
B-Number of twine coils at tying end

CC1019917

OUCC006,000068C -19-07MAY02-3/4


Setting Distance of Tying Ends

The distance from tying ends to the edges of bale can be adjusted from 8 to 25 cm (3 to 10 in.).

Press "TYING ENDS DISTANCE" key (A). The right-hand distance (B) from tying end to the edge of bale is displayed for five seconds. Press "PLUS" or "MINUS" key to increase or decrease the distance.

While right-hand distance (B) is displayed, press "TYING ENDS DISTANCE" key (A) a second time to display the left-hand distance (C) from tying end to the edge of bale. Press "PLUS" or "MINUS" key to increase or decrease the distance.

The last distances displayed are stored after five seconds.

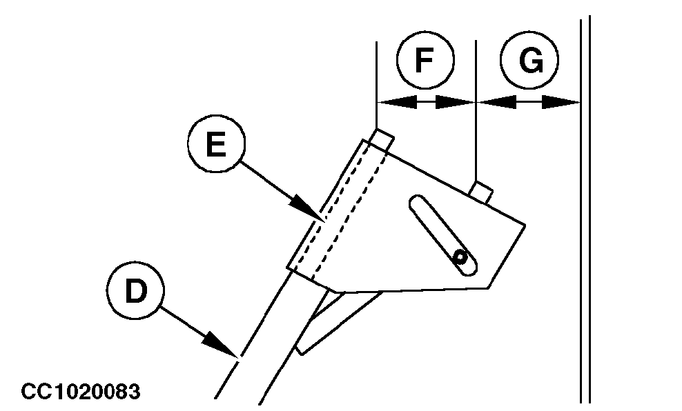
causym CAUTION: The adjustment of left-hand distance displayed is given for the fixed twine tube (E). To obtain the actual left-hand distance, subtract space (F) from the distance (C) displayed on the monitor.

Adjust the twine guide like the adjustment of left-hand distance desired. See "Adjusting Twine Guide" in "Operating the Baler-General Purposes" Section.


A-Tying ends distance key
B-Right-hand distance
C-Left-hand distance
D-Twine arm
E-Fixed twine tube
F-Space
G-Distance

CC1020080
CC1020083

OUCC006,000068C -19-07MAY02-4/4