Adjusting Oversize Bale Switch (Baler with ELC or BaleTrak Monitor)

Close the gate.

Lock gate in closed position (592 only).

By means of tractor selective control valve lever raise belt tension arm to its highest position.

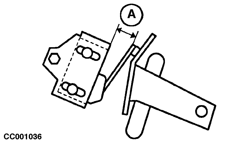
Position switch roller on ramp as shown.

Clearance (A) between switch arm and switch body should be 1 to 2 mm (0.04 to 0.08 in.).

On Baler With ELC Monitor:

Check that buzzer is activated with oversize bale switch in this position.

On Baler With BaleTrak Monitor:

Switch ON monitor in operating mode.

Check at LCD screen that the oversize alarm pictogram (B) is displayed and that buzzer is activated with oversize bale switch in this position.

Readjust if necessary.

CC001036

592 baler shown

CC1019212


A-1 to 2 mm (0.04 to 0.08 in.)
B-Oversize alarm

OUCC006,00006A0 -19-21MAY02-1/1