Adjusting Twine Guide (Baler without Precutter Device)

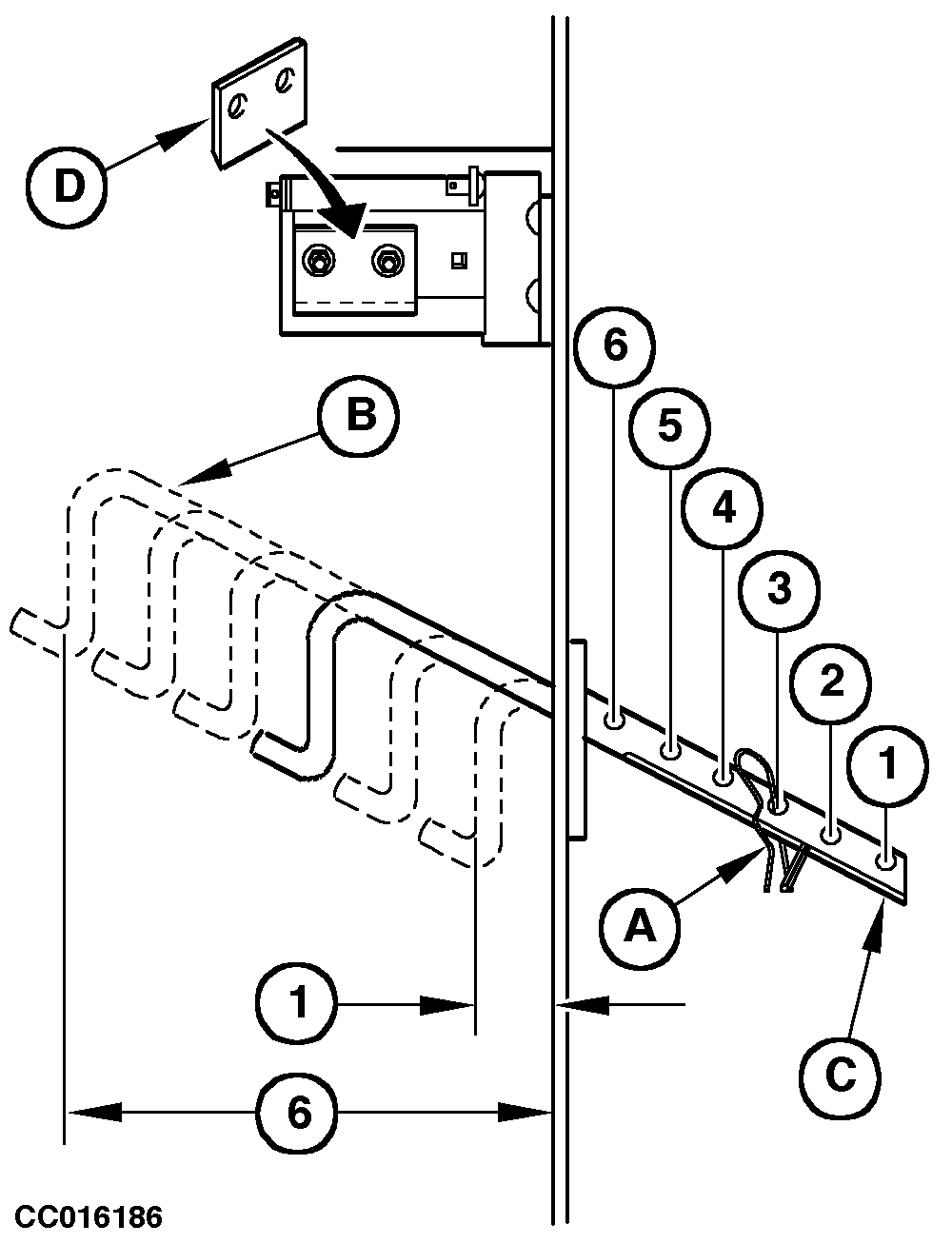
Depending on the crop type, the twine guide (B) allows the operator to adjust the distance of the twine from the left end of the bale from 85 to 220 mm (3.34 to 8.66 in.).

IMPORTANT: On balers with BaleTrak Control Monitor, check that the twine guide position matches the monitor setting. See "Setting Twine Tying" in "Operating BaleTrak Monitor" section.

On baler with ELC Monitor, check that the twine guide position matches the re-extension point setting. See "Operating ELC Monitor in Twine Tying Mode" in "Operating ELC Monitor" section.

Adjust twine guide as follows:

Remove spring-locking pin (A).

Slide twine guide rod (B) to align its hole with one of the twine guide tube (C) positioning holes (1-2-3-4-5-6).

Install spring-locking pin (A).

NOTE: When using the baler for dry, slick crops such as straw or flax, align hole in twine guide rod (B) with inside hole (6) of twine guide tube (C).

In this case, twine knife (D) must be relocated as shown.

When using the baler in normal operating conditions, align hole in twine guide rod (B) with outside hole (1) of twine guide tube (C).

CC016186


A-Spring-locking pin
B-Twine guide
C-Twine guide tube
D-Twine knife
1-85 mm (3.34 in.)
2-112 mm (4.40 in.)
3-139 mm (5.47 in.)
4-166 mm (6.53 in.)
5-193 mm (7.59 in.)
6-220 mm (8.66 in.)

OUCC006,00006BF -19-28MAY02-1/1