Channel 031: Adjusting Tying End Distance

"CH031" allows to adjust the tying end distance (B).

IMPORTANT: The twine actuator must be calibrated before the left-hand distance between tying end and edge of bale is adjusted. See "Channel 029: Calibration of Twine Actuator" in this Section.

1. Calibrate twine actuator.

2. Press "MANUAL START OF AN AUTOMATIC TYING CYCLE" key to start a tying cycle.

3. Switch off the monitor when the twine arm is in tying end position.

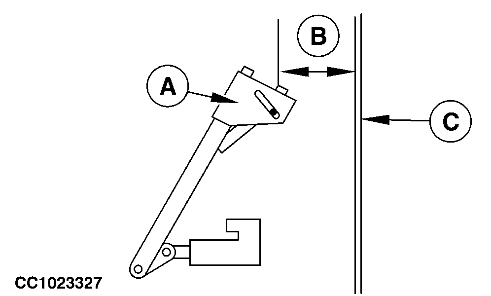
4. Check that the actual distance (B) between the twine arm (A) and the left-hand panel (C) of bale chamber is the same as the distance adjusted with monitor.

If the twine arm (A) is too close to the left-hand panel (C), press "MINUS" key to decrease the value stored in Channel 031.

If the twine arm (A) is too far away from the left-hand panel (C), press "PLUS" key to increase the value stored in Channel 031.


A-Twine arm
B-Tying end distance
C-Left-hand panel

CC1023327
CC1023312

OUCC006,00009CD -19-30JUL03-1/1