Channel 029: Calibration of Twine Actuator

"CH029" allows to calibrate the twine actuator.

1. Open the baler gate with tractor selective control valve lever and secure its position.

2. Press "EXTEND" key until the twine actuator is fully extended.

3. Adjust the twine arm travel. See "Adjusting Twine Arm Travel" in "Service" section.

4. Select the channel 29.

5. Press "RETRACT" key (A) until the actuator is fully retracted and the monitor displays "0".

6. Press "EXTEND" key (B) until the twine actuator is fully extended. Press "EXTEND" key a second time to make sure the actuator is fully extended. The value corresponding to the twine arm position is displayed.

7. Press simultaneously "PLUS" and "MINUS" keys to record the value of twine arm position.

8. Switch off the monitor


A-Retract key
B-Extend key

CC1023329

OUCC006,00009D1 -19-30JUL03-1/2


9. Switch on the monitor in normal operating mode.

10. Adjust the desired distance from tying end to the edge of bale with the monitor.

11. Press "MANUAL START OF TYING CYCLE" key. The tying cycle starts. Switch off the monitor when the actuator is fully extended.

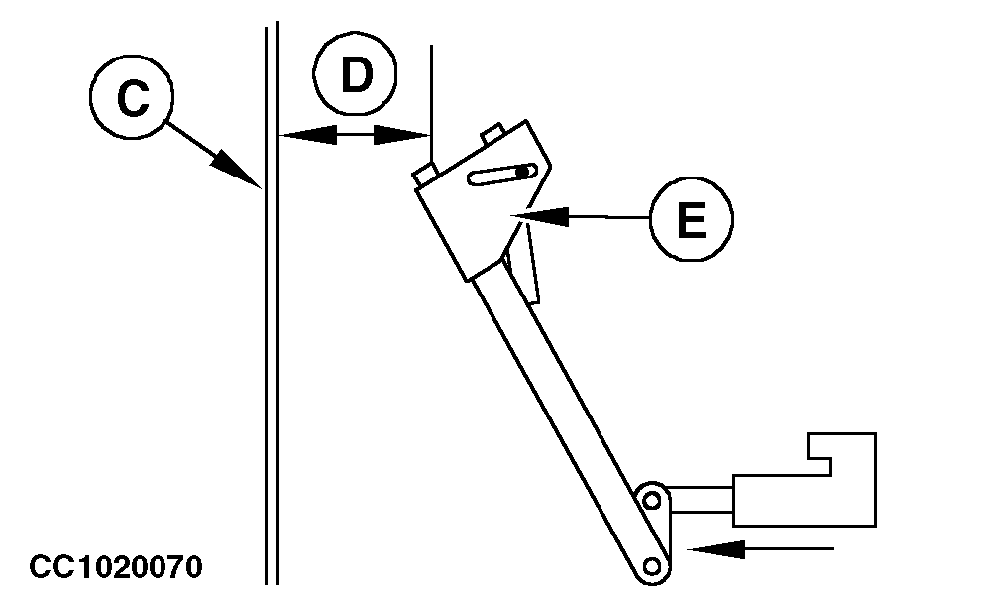
12. Check that the actual distance (D) between the twine arm (E) and the right-hand panel of bale chamber (C) is the same as the distance adjusted with monitor.

If the twine arm (E) is too close to the right-hand panel (C), decrease the value stored in Channel 029 with two pulses on "MINUS" key.

If the twine arm (E) is too far away from right-hand panel (C), increase the value stored in Channel 029 with two pulses on "PLUS" key.

Repeat adjustment if necessary, until the distance (D) between the twine arm (E) and the right-hand panel of bale chamber (C) is the same as the distance adjusted with monitor (accuracy ± 1 cm (0.4 in.)).

CC1020070


C-Right-hand panel of bale chamber
D-Distance
E-Twine arm

OUCC006,00009D1 -19-30JUL03-2/2