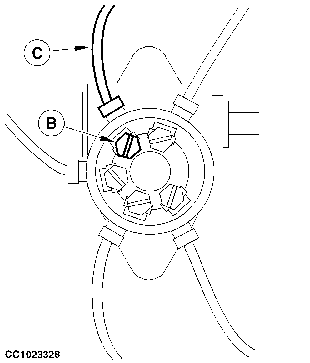
Adjusting Chain Oiling System Flow

The oil flow at each chain can be independently adjusted.

Adjust chain oil flow as follows:

1. Unscrew pump cover (A).

2. Turn one of the screws (B) to regulate oil flow of the relevant brush.

Turn screw clockwise to increase oil flow.

Turn screw counterclockwise to decrease oil flow.

3. Replace pump cover (A).


A-Pump cover
B-Screws
C-Plastic hose

CC1023293
CC1023328

OUCC006,0000C25 -19-21SEP04-1/1