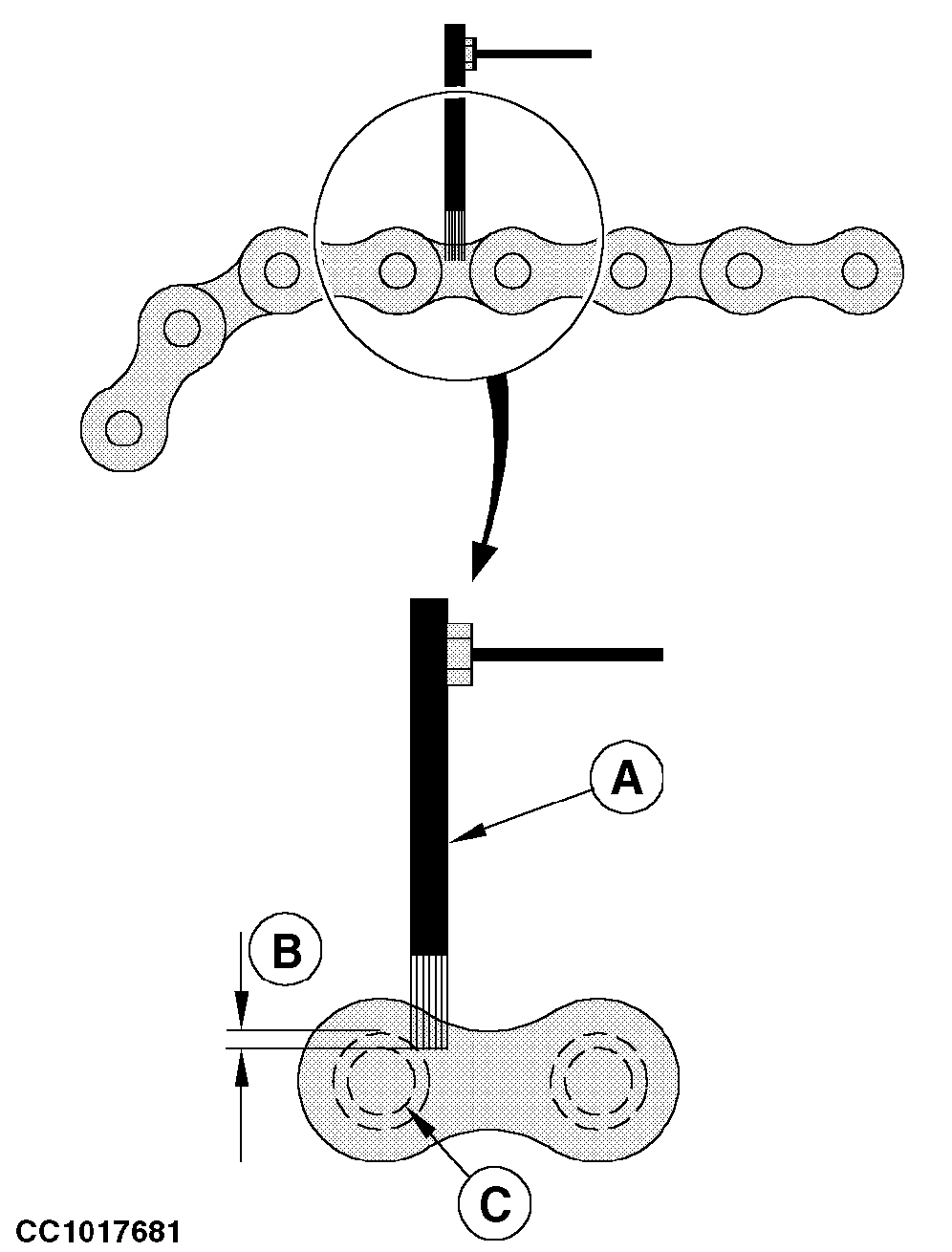
Adjusting Brushes

Adjust each brush (A) to obtain a contact (B) of 2 mm (0.08 in.) with chain roll (C).

This adjustment allows to clean and lubricate the drive chain correctly.

Other adjustments may lead to chain premature wear.


A-Brush
B-Contact
C-Chain Roll

CC1017681

OUCC006,0000C27 -19-03SEP04-1/1