Checking Knife and Counterknife Position (Test 1)

NOTE: The counterknife position (in relation to the knife) must be checked if serious net cut problems occur during field operation.

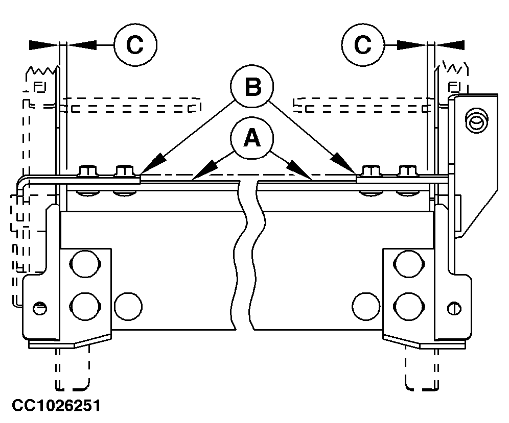
1. Keep the net actuator retracted.

2. Check that the two counterknife supports (B) are aligned.

3. Center counterknife (A) between lateral supports to obtain specified distance (C) on both sides.

Specification

Counterknife to Lateral Support -Distance 5 ± 2 mm 2 ± 0.08 in.

CC1026251


A-Counterknife
B-Counterknife support
C-5 ± 2 mm (2 ± 0.08 in.)

OUCC006,0000CF5 -19-28FEB05-1/3


4. Check that counterknife (A) is against net knife (D) all across its width.

IMPORTANT: Contact should occur on the medium area of the sharp side of the knife as shown.

The gap (E) in not touching area should not exceed the following specifications:

Specification

Counterknife to Knife -Gap 0.5 mm maximum 0.02 in. maximum

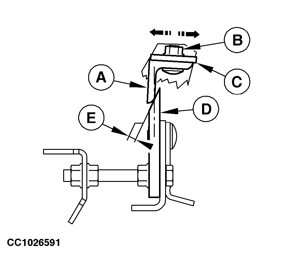
If necessary, adjust the gap (E) as follows:

a. Loosen nuts (B) and (F).

b. Move counterknife (A) and counterknife support (C) to obtain specified gap (E).

c. Tighten nuts (B) and (F).


A-Counterknife
B-Nuts
C-Counterknife support
D-Knife
E-0.5 mm (0.02 in.) maximum
F-Nuts

CC1026591
CC1026590

OUCC006,0000CF5 -19-28FEB05-2/3


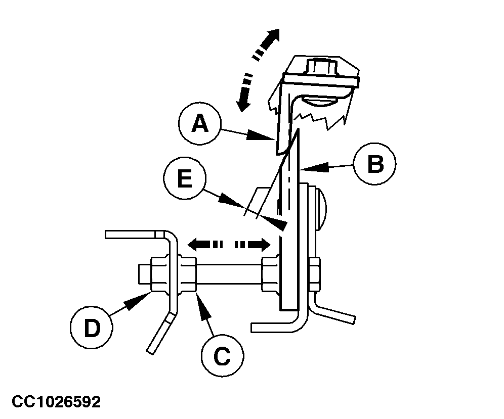
5. If counterknife (A) is not fully in contact all across the knife (B) width, complete the adjustment of gap (E) as follows:

a. Loosen lock nut (C).

b. Tighten nut (D) to bend the knife (B) to obtain the specified gap (E).

Specification

Counterknife to Knife -Gap 0.5 mm maximum 0.02 in. maximum

c. Tighten lock nut (C) after adjustment.

6. Extend and retract net actuator. Check gap (E) and repeat the procedure if necessary.

Proceed to test 2.

CC1026592


A-Counterknife
B-Knife
C-Lock nut
D-Nut
E-0.5 mm (0.02 in.) maximum

OUCC006,0000CF5 -19-28FEB05-3/3