Checking Net Feed Roll Brake (Test 6)

IMPORTANT: Prior to this test, make sure that test 1 to 5 results are "OK". Proceed to the relevant tests described in this section.

IMPORTANT: The net feed roll brake adjustment must be performed before using the baler.

Proceed as follows:

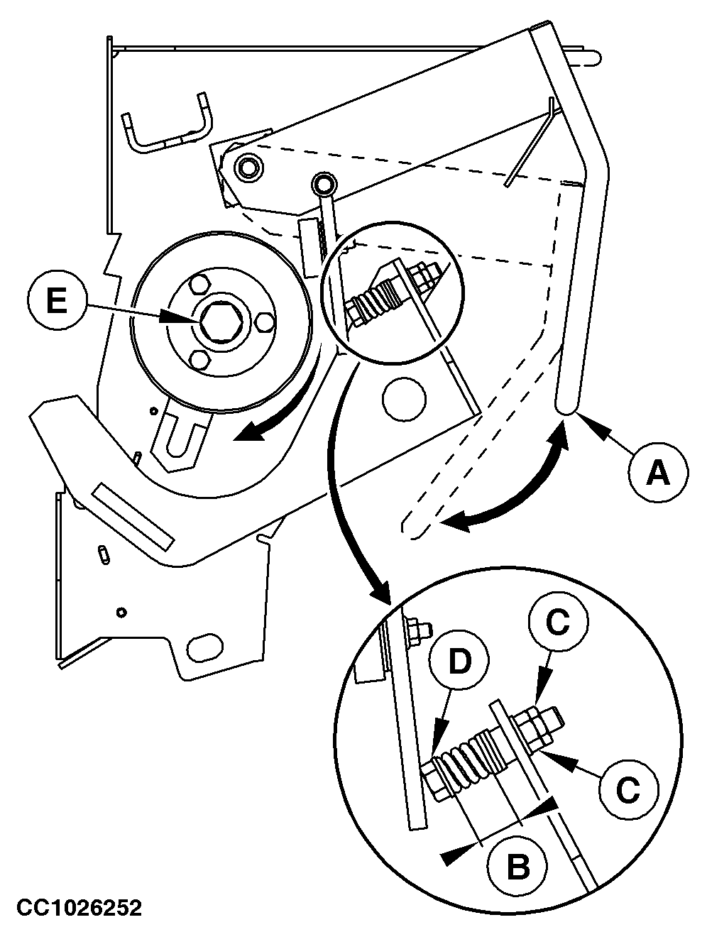
1. Keep the net actuator retracted.

2. Release net feed roll brake lever (A).

3. Check that spring length (B) is within specifications.

Specification

Spring -Length 20 mm 0.78 in.

If necessary, adjust spring length (B) as follows:

a. Loosen the two lock nuts (C).

b. Turn bolt (D) clockwise to decrease or counterclockwise to increase spring length (B).

4. Apply net feed roll brake lever (A).

5. Check that torque of rubber feed roll bolt (E) is within specifications.

Specification

Net Feed Roll -Torque 70 N·m 51 lb-ft

CC1026252


A-Net feed roll brake lever
B-20 mm (0.78 in.)
C-Lock nuts
D-Bolt
E-Rubber feed roll bolt

OUCC006,0000CF6 -19-04NOV04-1/2


If torque is less than specifications, adjust torque as follows:

a. Release net feed roll brake lever (A).

b. Loosen nuts (H).

c. Transfer one or two shims (G) between rubber brake pad (I) and its support (F).

d. Tighten nuts (H).

e. Apply net feed roll brake lever (A).

f. Check that torque is within specifications.

Specification

Net Feed Roll -Torque 70 N·m 51 lb-ft
If torque is always less than specifications, proceed as follows:

a. Release net feed roll brake lever (A).

b. Remove lock nuts (B).

c. Add one washer (D) between spring (E) and support (C).

d. Reinstall and tighten lock nuts (B).

e. Apply net feed roll brake lever (A).

f. Check torque.

Proceed to test 7.


A-Net feed roll brake lever
B-Lock nuts
C-Support
D-Washer
E-Spring
F-Support
G-Shims
H-Nuts
I-Rubber brake pad

CC1026594
CC1026593

OUCC006,0000CF6 -19-04NOV04-2/2