Securing the Jackstand in Transport Position

On Pin Drawbar Tongue

When operating or transporting the mower-conditioner, always store jackstand (B) on tongue (A) as shown.

Secure jackstand (B) with lock pin (C).


A-Tongue
B-Jackstand
C-Lock pin

CC9190

AG,OUCC006,340 -19-04MAY00-1/3


On Linkage Drawbar Tongue

When operating or transporting the mower-conditioner, always store jackstand (B) in full raised position as shown.

Secure jackstand (B) with latch (D).


B-Jackstand
D-Latch

CC015943

AG,OUCC006,340 -19-04MAY00-2/3


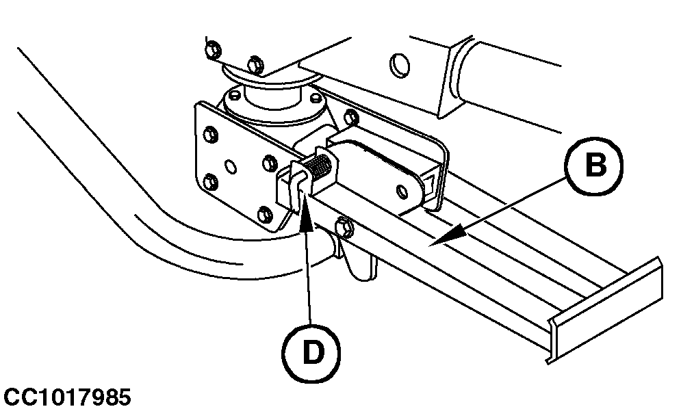
On Swivel Hitch

When operating or transporting the mower-conditioner, always store jackstand (B) as shown.

Secure jackstand (B) with latch (D).


B-Jackstand
D-Latch

CC1017985

AG,OUCC006,340 -19-04MAY00-3/3