Adjusting Grouper Canvas Tracking

IMPORTANT: Before altering grouper canvas tracking, make sure that tracking is not good with the grouper canvas tension correctly adjusted (See "Adjusting Grouper Canvas Tension" in this Section).

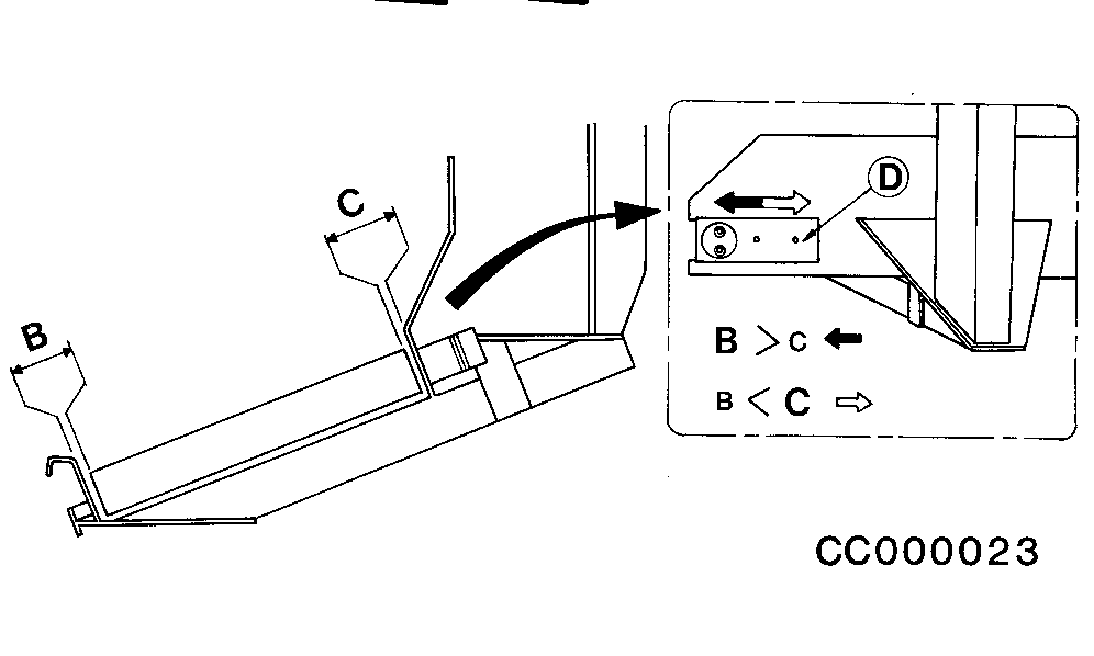
Canvas must run parallel to front of canvas frame. Allowing canvas to track against the frame will cause excessive wear to the frame and canvas. The drive roll is adjusted in factory perpendicular to the front of canvas frame

1. Check that drive roll is perpendicular to the front of canvas frame with a set square. Adjust it, if necessary, by moving canvas motor support (D).

2. Loosen the two tensioners (A) to release canvas tension.

3. Slowly operate canvas then refer to the sketch opposite for proper adjustment: If dimension "B" is greater than dimension "C" then move canvas motor support (D) to the left. If dimension "B" is less than dimension "C" then move canvas motor support (D) to the right.

4. Tighten canvas motor support (D) mounting bolts then adjust canvas tension (See "Adjusting Grouper Canvas Tension" in this Section) and recheck tracking.

Repeat steps 2 through 4, if necessary.

CC1017712
CC000023


A-Tensioners
B-Dimension at front of canvas frame
C-Dimension at rear of canvas frame
D-Canvas motor support

AG,OUCC006,351 -19-04MAY00-1/1