Grouper Lift

To operate the grouper lift movements, two grouper lift options are available:

Hydraulic Lift Option:

Requires two selective control levers to control the grouper lift movements.

Electro-hydraulic Lift Option:

Requires only one selective control lever to control the grouper lift movements.

NOTE: When lifting the grouper, the canvas motor is automatically disengaged. When lowering the grouper, the canvas motor will be automatically re-engaged.

The canvas speed can be adjusted to suit field conditions and tractor ground speed.

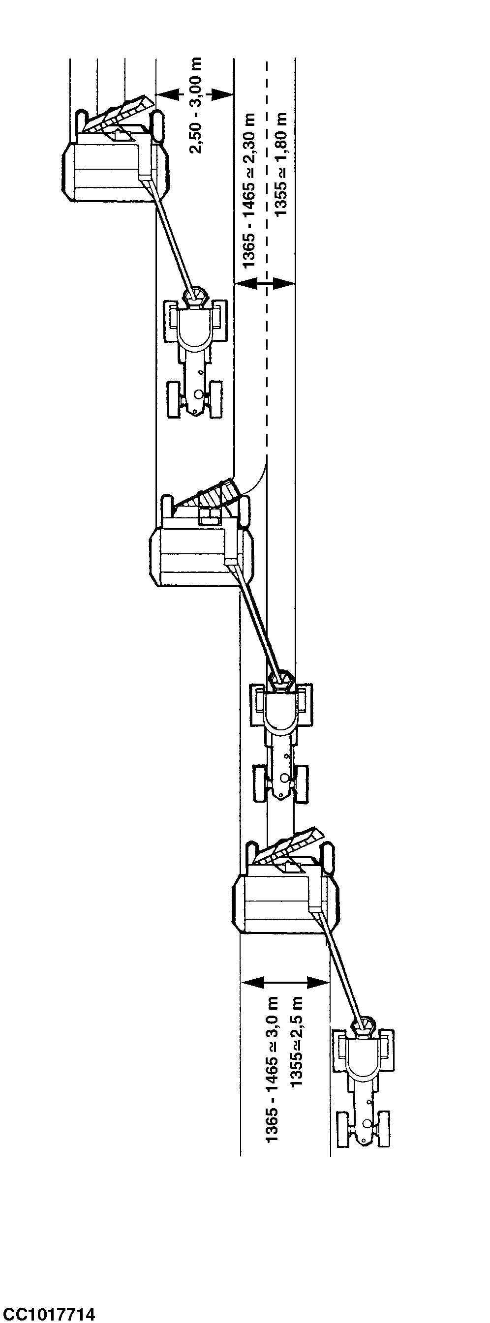
Use the grouper alternately engaged and disengaged during clockwise travel around the field to double the windrows. Grouper up during the first pass, down during the second one, then up for the third pass, etc.

IMPORTANT: To obtain the best grouper performance, it is strongly recommended to set the 1355 and 1365 mower-conditioner impeller at the highest speed (870 rpm) (see "Changing Rotor Speed" in "Operating the Mower Conditioner" Section).

NOTE: In adverse conditions and particularly when crop transfer between mower-conditioner rotor and canvas is not adequate (especially on 1355 mower-conditioner) the use of the 1000 rpm rotor speed is recommended (see "Attachments" Section).

CC1017714

AG,OUCC006,355 -19-04MAY00-1/1