As Required

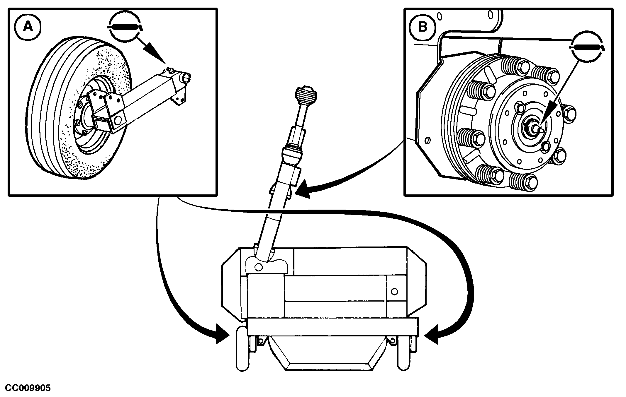
CC009905
 

A-Wheel support on both sides

B-Slip clutch overrunning plate (pin drawbar tongue)

 

Lubricate with John Deere GREASE-GARD

AG,OUCC006,357 -19-04MAY00-1/4


CC1017715
 

A-Cutting height turnbuckles

 

Lubricate with John Deere GREASE-GARD.

AG,OUCC006,357 -19-04MAY00-2/4


CC1017705
 

A-Canvas tensioners

B-Tubular frame grease fittings

 

Lubricate with John Deere GREASE-GARD.

AG,OUCC006,357 -19-04MAY00-3/4


CC1017763
 

A-Grouper motor bearing

 

Lubricate with John Deere GREASE-GARD.

AG,OUCC006,357 -19-04MAY00-4/4