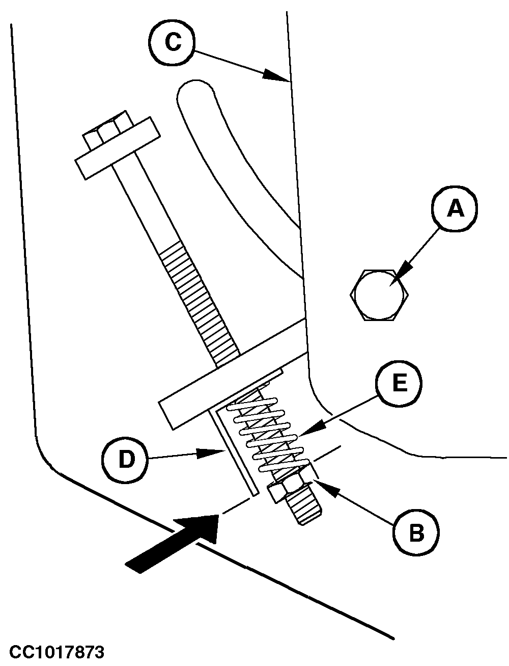
Adjusting Hydraulic Pump Drive Belt Tension (Linkage Drawbar and Swivel Hitch Tongue)

Loosen locking screw (A), then tighten adjusting nut (B) so that the length of spring (E) and strap (D) are the same.

Tighten locking screw (A).


A-Locking screw
B-Adjusting nut
C-Hydraulic pump support
D-Strap
E-Spring

CC015853

Hydraulic pump drive

CC1017873

AG,OUCC006,388 -19-31MAY00-1/1