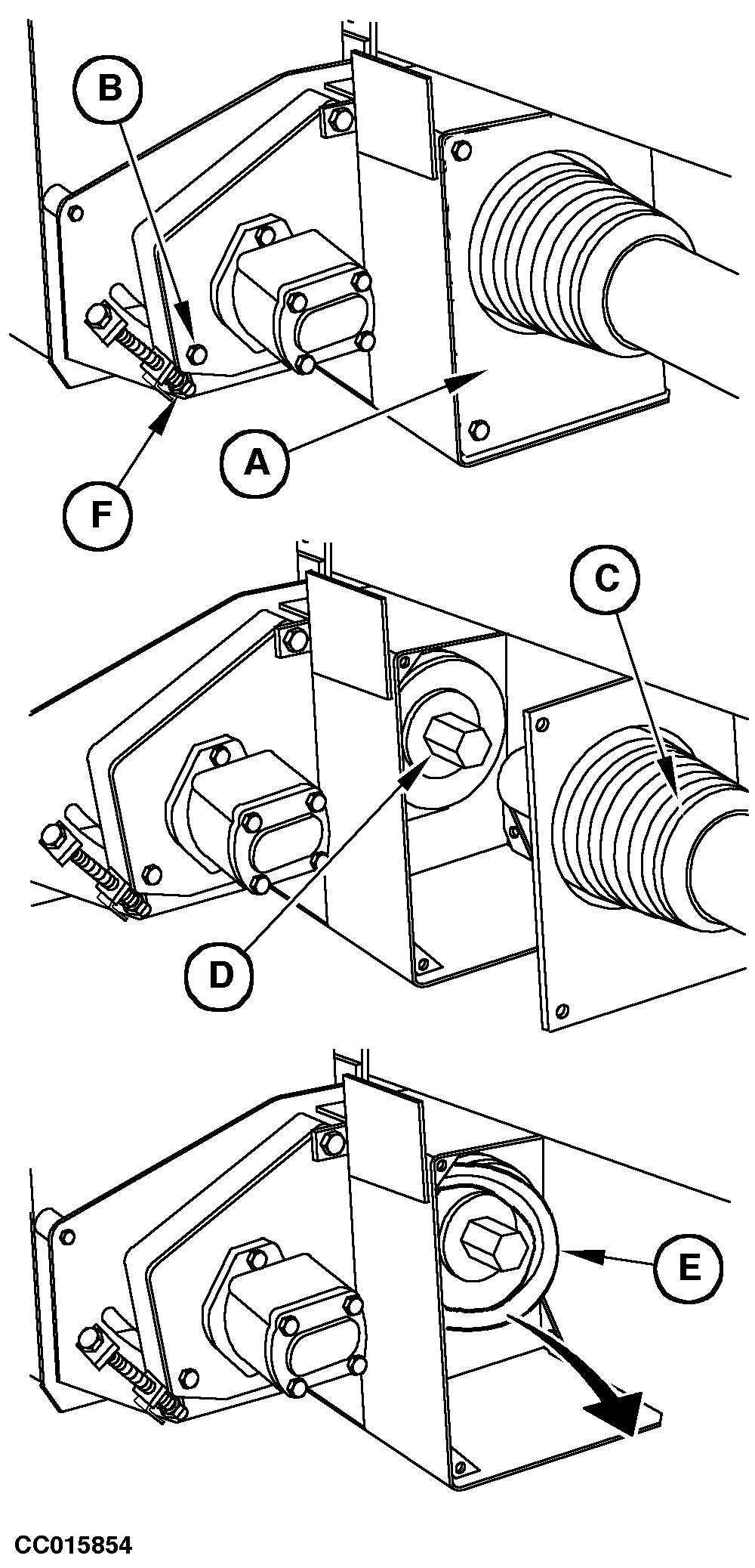
Replacing Hydraulic Pump Drive Belt (Linkage Drawbar and Swivel Hitch Tongue)

Remove shield (A).

Loosen locking screw (B) and adjusting nut (F) to release belt tension.

Disengage rear driveline (C) from intermediate drive shaft (D).

Remove belt (E) from the pulleys.

In case of a mower-conditioner equipped for 540 rpm PTO, install a 1120 mm (3.67 ft) long drive belt.

In case of a mower-conditioner equipped for 1000 rpm PTO, install a 932 mm (3.05 ft) long drive belt.

Reinstall new belt on pulleys. Adjust drive belt tension as described under "Adjusting Hydraulic Pump Drive Belt Tension" in this Section, then reinstall all parts previously removed.


A-Shield
B-Locking screws
C-Rear driveline
D-Intermediate drive shaft
E-Belt
F-Adjusting nut

CC015854

AG,OUCC006,406 -19-14JUN00-1/1