Adjusting Grouper Canvas Speed

IMPORTANT: To prolong the service life of the grouper canvas, do not use the highest speed (position "10") unless absolutely necessary. This high speed should be used when the narrowest windrow is required.

On Grouper With Self Contained Hydraulic Circuit:

Depending on ground speed, windrow width and crop conditions, canvas speed can be adjusted by using graduated control knob (A).

Under normal conditions, set control knob (A) to position "8".

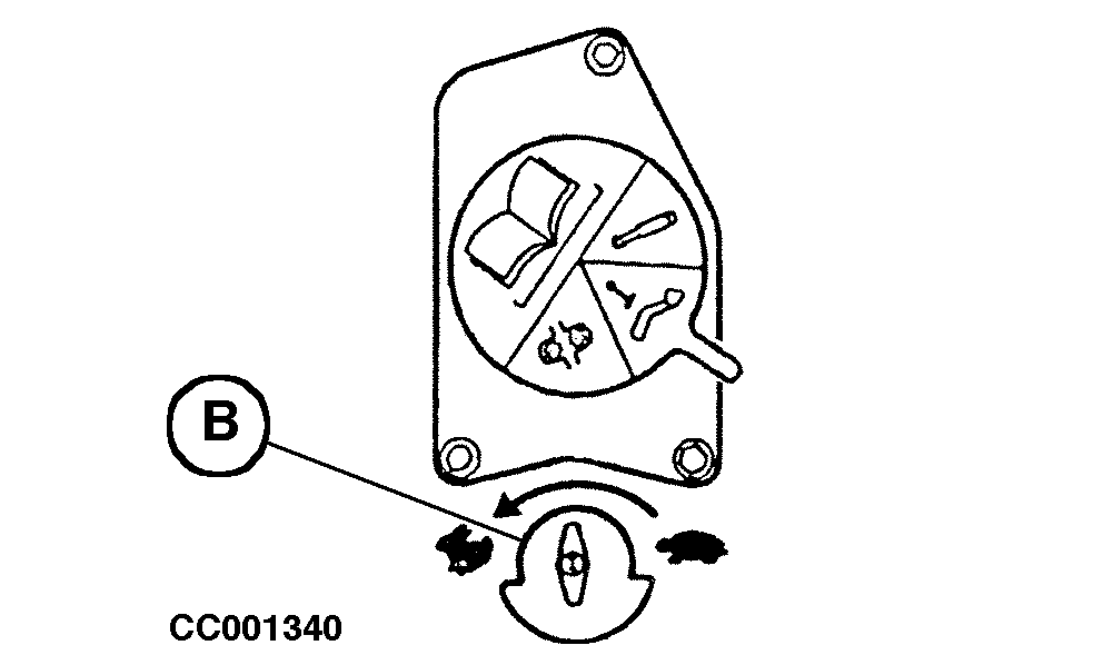
On Grouper With Direct Drive Hydraulic Circuit:

Depending on working speed, windrow width and crop conditions, canvas speed can be adjusted either by using graduated control knob (A) or by adjusting the selective control valve flow if tractor is equipped with flow (load) control valves (B).

CC000011
CC001340

6000/7000 Series Tractor

CC,1350MC001814 -19-24AUG94-1/2


IMPORTANT: To avoid tractor hydraulic circuit overheating, always refer to the following procedure to adjust canvas speed:

On tractor with flow (load) control valve, start to set the selective control valve flow at its minimum then set graduated control knob (A) to position "8". Slowly increase flow by using flow (load) control valve (B) until canvas speed remains constant. This is an initial setting for normal conditions.

If canvas speed needs to be reduced, reduce oil flow by using flow (load) control valve (B) only.

If canvas speed needs to be increased, set graduated control knob (A) to the desired position, then increase oil flow by using flow (load) control valve (B) in the same way as for the initial setting.

On tractor without flow (load) control valve, adjust canvas speed by using graduated control knob (A).

Under normal conditions, set control knob (A) to position "8".

CC000011
CC001340

6000/7000 Series Tractor

CC,1350MC001814 -19-24AUG94-2/2