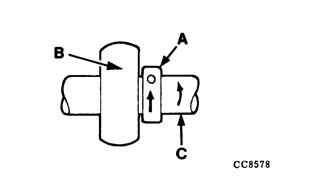
Tightening Bearing Locking Collars

Tighten all locking collars (A) on running shafts (C) in direction of shaft rotation.


A-Locking collar
B-Bearing
C-Running shaft

CC8578

CC,1350MC001878 -19-27AUG94-1/1