Adjusting Tractor Drawbar (Pin Drawbar Tongue Only)

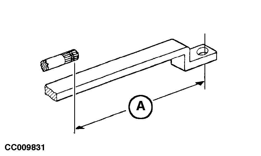
Before attaching mower-conditioner to tractor, adjust tractor drawbar so that distance (A) measures 350, 400 or 550 mm (13.77, 15.74 or 21.66 in.). Replace all shields or guards removed.

IMPORTANT: If tractor drawbar has been adjusted to 350 or 400 mm (13.77 or 15.74 in.), it is requested to install a hitch extension. See "Installing Equal Hitch To Tractor Drawbar" In this Section.

Vertically align drawbar hitch pin hole with center line of tractor PTO shaft.

CC009831


A-350, 400 or 550 mm (13.77, 15.74 or 21.66 in.)

CC,1350MC003646 -19-26NOV96-1/1