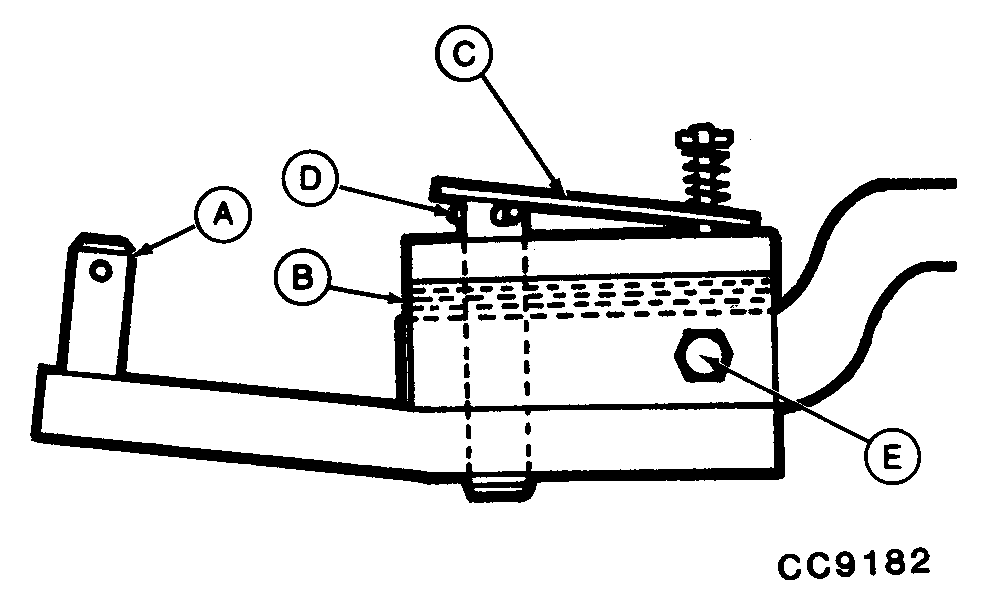
Installing Equal Hitch to Tractor Drawbar (Pin Drawbar Tongue Only)

If tractor drawbar is adjusted to 350 or 400 mm (13.77 or 15.74 in.), slide equal hitch (A) onto drawbar, as shown.

Place shims (B) between drawbar and hitch to ensure a tight fit. Store extra shims under strap (C).

Secure hitch with hitch pin and spring pin (D).

Tighten adjusting bolts (E) on both sides of equal hitch. Tighten lock nuts against hitch.


A-Equal hitch
B-Shims
C-Locking strap
D-Spring pin
E-Adjusting bolts

CC2980
CC9182

CC,1350MC003647 -19-26NOV96-1/1