Adjusting Conditioning Intensity (1355 and 1365 Only)

causym CAUTION: Disconnect PTO, shut off the tractor engine and remove the key before adjusting.

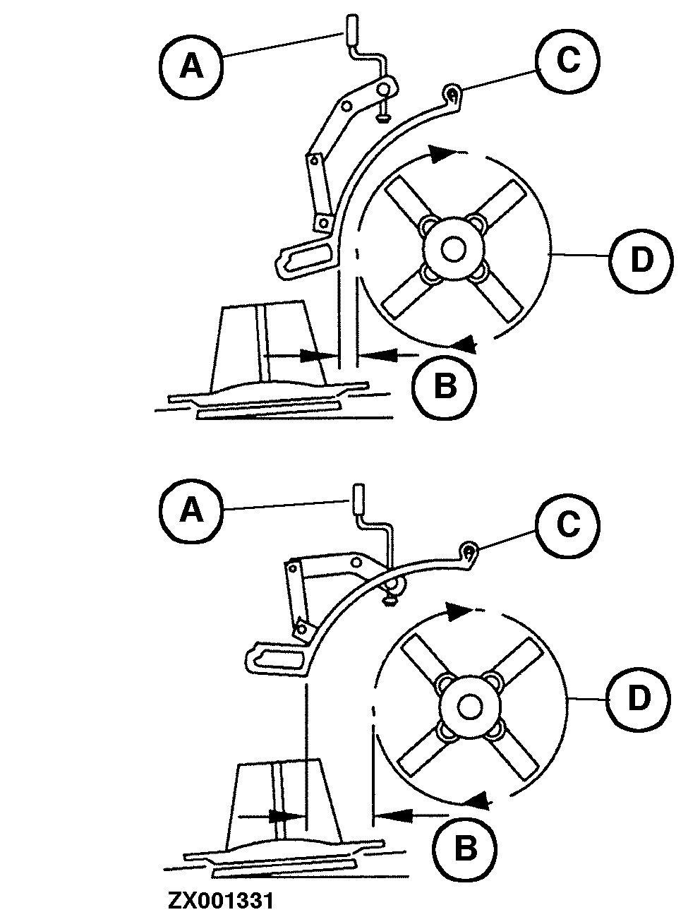
Conditioning intensity can be adjusted by altering the clearance (B) between conditioning hood (C) and rotor tine tips (D).

Conditioning intensity adjustment can be improved by modifying the rotor speed (see "Changing Rotor Speed" in this Section).

Turn crank (A) counterclockwise to obtain less conditioning effect.

Turn crank (A) clockwise to obtain more conditioning effect.

The minimum clearance (B) that can be obtained is 10 mm (0.39 in.), to be used in short crops and grass.

The maximum clearance (B) that can be obtained is 120 mm (5 in.), to be used in extremely dense leguminous crops (alfalfa and clover).

IMPORTANT: The operator must determine the correct clearance between conditioning hood and tine tips to provide the best conditioning effect for crop and prevent hay plugging at front of conditioning hood.

NOTE: Position of the conditioning hood has a slight effect on windrow width.

For characteristics of good conditioning effect, see "Checking Conditioning Effect" in this Section.

Depending of the field conditions, position of the conditioning hood affects the crop transfer to the grouper.

CC9513
CC001331


A-Adjusting crank
B-Clearance
C-Conditioning hood
D-Tine tip

CC,1355MC004962 -19-22JUN99-1/1