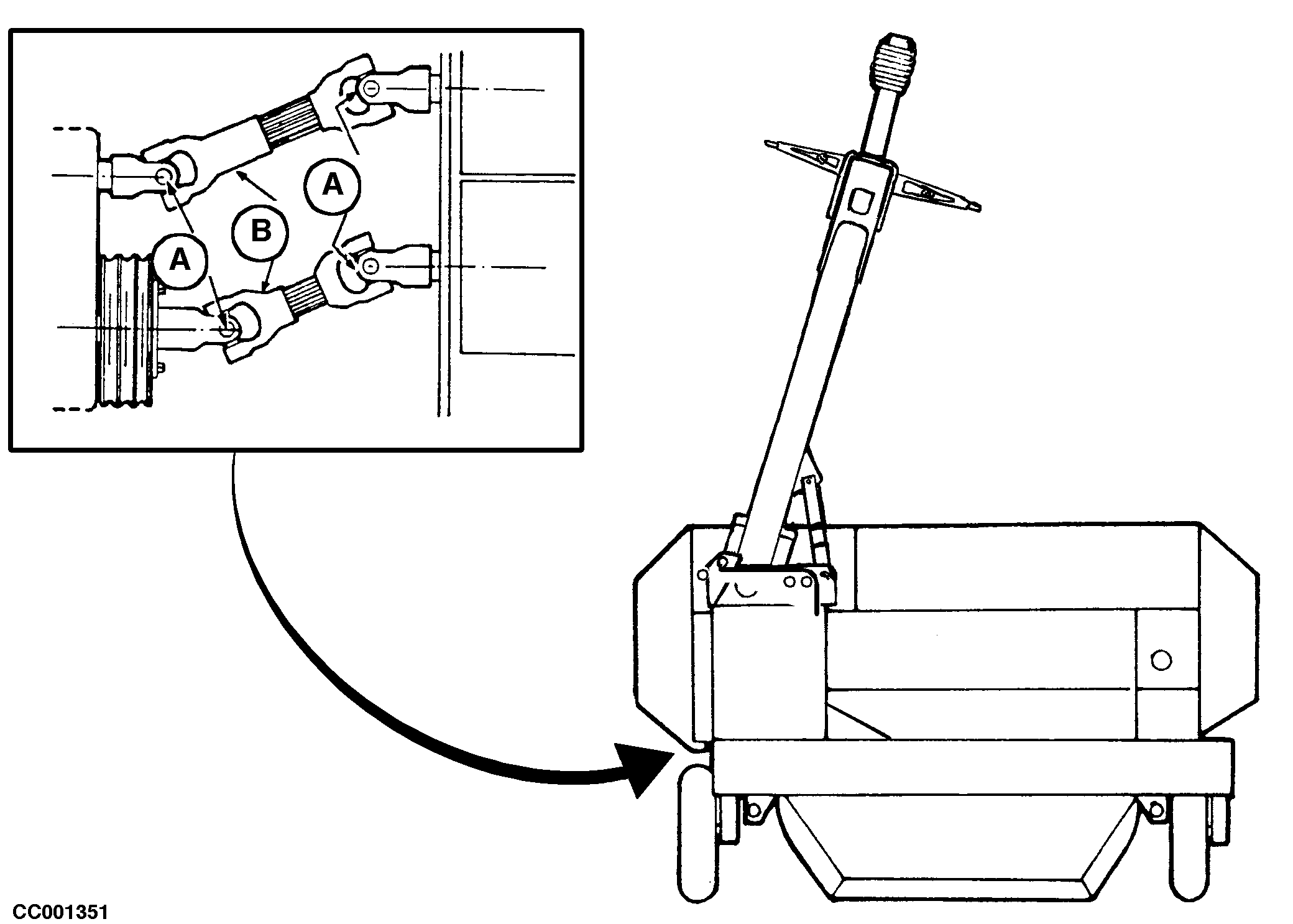
Every 10 Hours (1465 Only)

CC001351
 

A-Upper and lower yokes

B-Upper and lower grooved arms

 

Lubricate with John Deere GREASE-GARD

CC,1355MC004976 -19-22JUN99-1/2


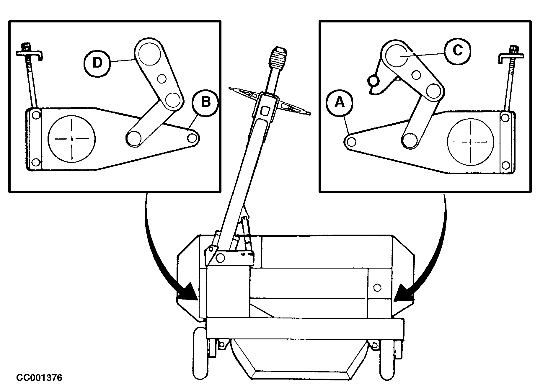
CC001376


A-Right-hand roller arm pivot


B-Left-hand roller arm pivot


C-Right-hand torsion bar bearing


D-Left-hand torsion bar bearing

Lubricate with John Deere GREASE-GARD

CC,1355MC004976 -19-22JUN99-2/2