Adjusting Roll Synchronization (1465 Only)

IMPORTANT: Check roll spacing before attempting to synchronize rolls.

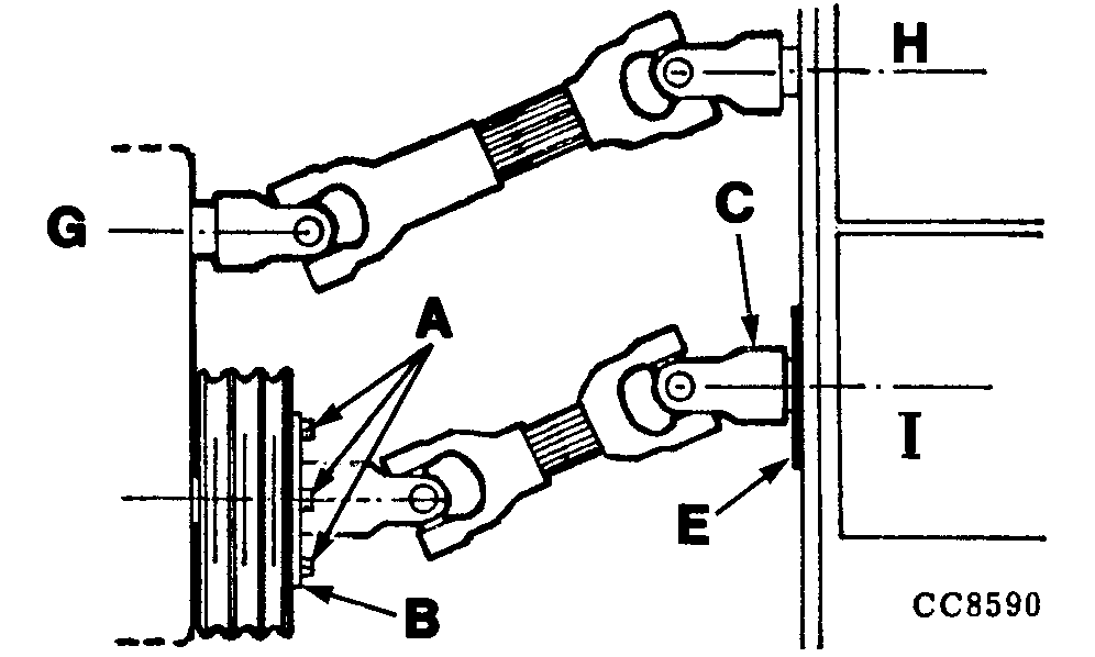
Synchronize rolls as follows:

1. Loosen the four bolts (A) on roll timing plate (B).

2. Turn yoke disk (C) forward to remove backlash and make a mark (D) on yoke edge and flange (E).

3. Turn yoke disk (C) rearward to remove backlash and make a second mark (F) on flange (E) opposite mark (D) on the yoke.

4. Position mark (D) on yoke halfway between the two marks (D) and (F) on flange (E).

5. Tighten bolts (A) to 95 N·m (70 lb-ft).

NOTE: If rolls cannot be correctly synchronized, check roll positioning.


A-Bolt
B-Timing plate
C-Yoke disk
D-Mark
E-Flange
F-Mark
G-Roll gear case
H-Upper roll
I-Lower roll

CC8590
CC8534
CC8591

CC,1355MC004995 -19-22JUN99-1/1