Connecting Mower-Conditioner to Tractor Hydraulic System

causym CAUTION: Maximum working pressure of mower-conditioner hydraulic hoses is about 20000 kPa (200 bar; 2900 psi).

Escaping fluid under pressure can penetrate the skin causing serious injury. Avoid the hazard by relieving pressure before disconnecting hydraulic or other lines.

IMPORTANT: All hydraulic couplers must be clear of debris, dust and sand. Use protective caps on fluid openings until ready to make connection. Foreign material can damage the hydraulic system.

NOTE: ISO hydraulic couplers are standard with the mower-conditioner. If they do not fit the tractor, see your John Deere dealer for correct coupler.

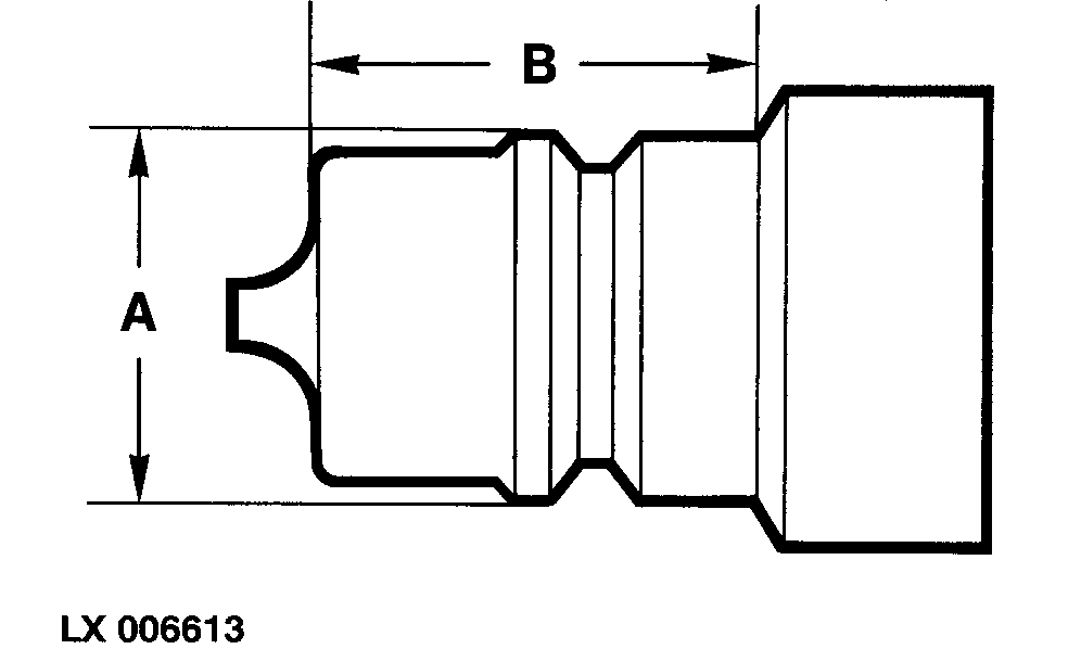
Specification

A -Diameter 23.66 - 23.74 mm (0.931 - 0.934 in.)
B -Length 24 mm (0.945 in.)

LX006613


A-Diameter
B-Length

OUCC006,0000F39 -19-25OCT05-1/2


1. If equipped, push tractor SCV (Selective Control Valve) lever lockouts (A) to the right (transport lock) before attaching implements to prevent implement movement and possible personal injury.

2. Connecting platform lift hydraulic hose

Connect platform lift hydraulic hose to a single-acting SCV to operate the mowing unit lift.

Push hose firmly into tractor receptacle.

NOTE: Refer to your tractor Operator's Manual to connect mowing unit/grouper lift hydraulic hose in the recommended outlet.

3. Connecting hydraulic tongue positioning hoses (if mower-conditioner is equipped with hydraulic tongue positioning system)

Connect hydraulic tongue positioning hoses to a double-acting SCV to operate the tongue swing.

Check to be sure symbols (B) on covers, indicating cylinder movement, match symbols (C) on hose identification plate (D).

Push hoses firmly into tractor receptacle.


A-SCV lever lockouts
B-SCV symbols
C-Identification plate symbols
D-Hose identification plate

LX1026123
CC1027486

John Deere 6020 Series SCV Couplers Shown

CC1026711

OUCC006,0000F39 -19-25OCT05-2/2