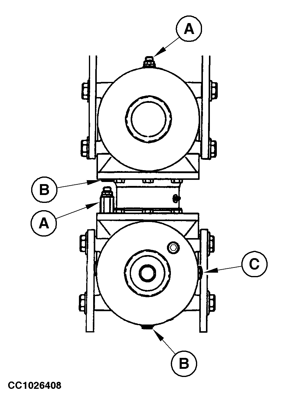
Every 250 Hours or Yearly - Draining and Refilling Swivel Hitch Gear Cases

IMPORTANT: Change the oil in the swivel hitch gear cases every 250 hours or yearly, whichever comes first.

1. Drain the oil while it is hot (i.e. after operation).

2. Level swivel hitch gear cases.

3. Pull out plugs (A) and (B) then drain the oil into a suitable receptacle.

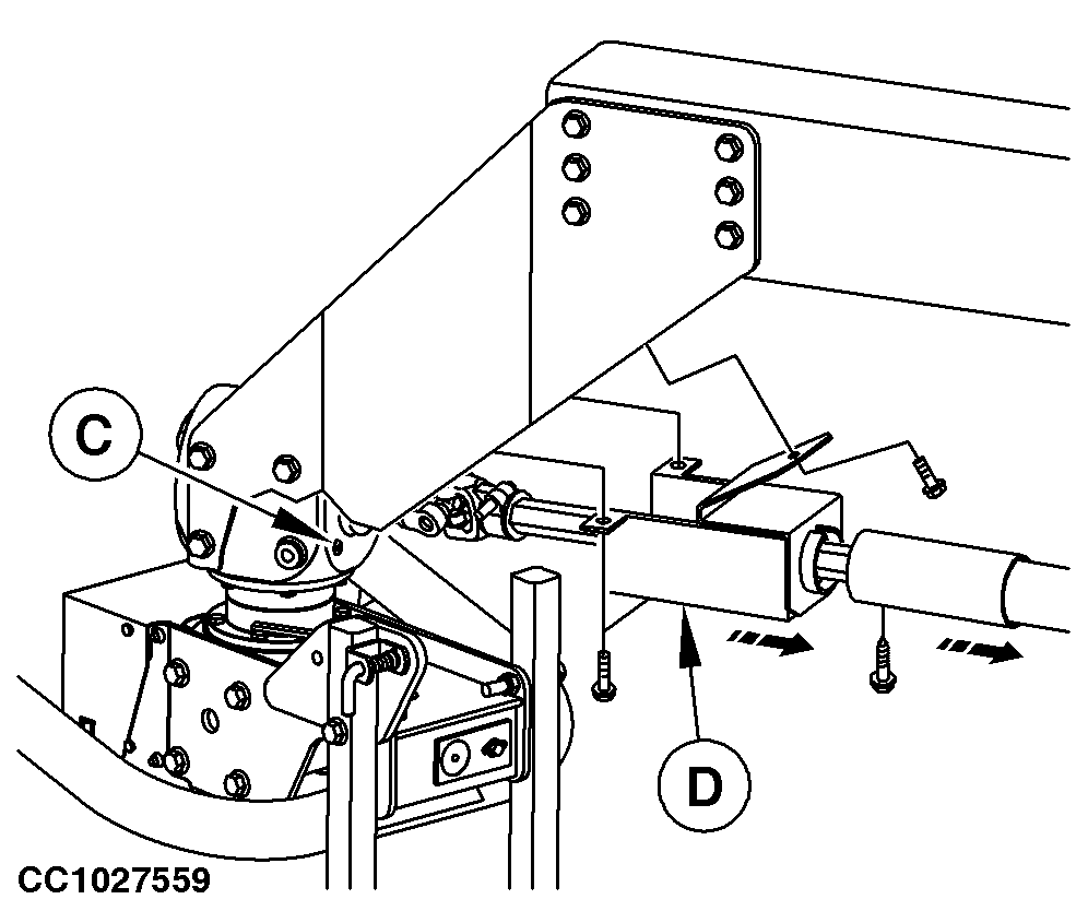
4. Remove shield (D) to access in upper gear case level plug (C).

5. Add 0.8 liters (0.21 US gal) of oil into the upper gear case. Add 2.4 liters (0.63 US gal) of oil into the lower gear case. Use oil specified under "Gear Case Oil".

6. Check the oil level at bores of level plugs (C).

7. Clean all plugs before reinstalling them.

8. Install shield (D).


A-Gear case refill plugs
B-Drain plugs
C-Level plugs
D-Shield

CC1026408
CC1027559

OUCC006,0000F3E -19-25OCT05-1/1