Adjusting Linkage Drawbar Tongue to the Tractor

Adjusting Position of Tongue End

Adjust tractor draft links as described in "Adjusting Draft Links (Linkage Drawbar Tongue Only)" in "Preparing the Tractor" Section so that distance (C1) between PTO shaft center line and center line of draft links is 298 mm (11.73 in.).

If distance (C1) cannot be achieved, then the tongue end (A) position must be modified as follows:

Remove the six mounting screws (D) of the tongue end (A), then slide tongue end (A) down so that mounting screws (D) can be inserted in holes (E). Tighten screws to the following specifications:

Specification

Screws -Torque 280 N·m (206 lb-ft)

This position of tongue end (A) corresponds to distance (C2) of 228 mm (8.97 in.). Check that draft links can meet this distance (C2).

Keep the draft links in a position that corresponds to distance (C1) or (C2).

CC006600


A-Tongue end
C1-298 mm (11.73 in.)
C2-228 mm (8.97 in.)
D-Mounting screws
E-Holes

OUCC006,0000F44 -19-20SEP05-1/3


Determining Which Linkage Drawbar Tongue Hitch Type to Use

With the draft links (A) in the position previously defined, measure the distance (B) between the center line of the tongue end pin (C) and the tip of the PTO shaft (D).

If distance (B) is 496 to 606 mm (19.52 to 23.85 in.) the direct hitch (E) is required to attach the tongue to the tractor.

IMPORTANT: With distance (B) between 496 to 510 mm (19.52 to 20.07 in.), the hitch extension (F) can still be used if the mower-conditioner is already equipped with one. Nevertheless, the hitch extension (F) can still be used if distance (B) is above 510 mm (20.07 in.) provided that telescoping hook-up shows a sufficient overlap. Refer to telescoping hook-up Operator's Manual to check overlap.

If distance (B) is below 496 mm (19.52 in.), the hitch extension (F) is required to attach the tongue to the tractor.

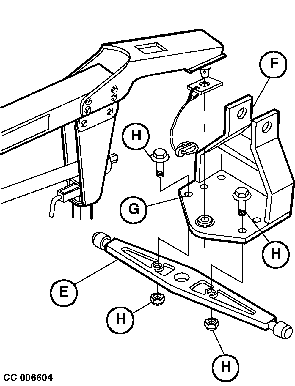
Install hitch extension (F) on direct hitch (E) as follows:

Use locating holes (G) to install hitch extension (F) on direct hitch (E) so that distance (B) of 496 to 606 mm (19.52 to 23.85 in.) is maintained.

Use screws and lock nuts (H) as shown to install hitch extension (F) on direct hitch (E). Tighten screws to 675 N·m (500 lb-ft).


A-Draft links
B-496 to 606 mm (19.52 to 23.85 in.)
C-End pin
D-PTO shaft
E-Direct hitch
F-Hitch extension
G-Locating holes
H-Fixing screws and lock nuts

CC006602
CC006603
CC006604

OUCC006,0000F44 -19-20SEP05-2/3


Adjusting Linkage Drawbar Tongue End Pin Position

Adjust position of end pin support (A) so that distance (B) between center line of pin (C) and tip of hexagonal shaft (D) is equal to the distance (E) ± 5 mm (0.20 in.) previously measured.

Remove the four fixing screws (F), then refer to the sketch opposite and to chart below to determine the position of tongue end pin support (A).

Support Position Distance B=E
1... 496 mm (19.52 in.)
2... 506 mm (19.92 in.)
3... 516 mm (20.31 in.)
4... 526 mm (20.70 in.)
5... 536 mm (21.10 in.)
6... 546 mm (21.49 in.)
7... 556 mm (21.88 in.)
8... 566 mm (22.28 in.)
9... 576 mm (22.67 in.)
10... 586 mm (23.07 in.)
11... 596 mm (23.46 in.)
12... 606 mm (23.85 in.)

 

NOTE: Do not reverse the orientation of pin support (A) when adjusting its position.

Tighten screws (F) to 350 N·m (255 lb-ft).


A-Pin support
B-See chart
C-Pin center line
D-Hexagonal shaft
E-496 to 606 mm (19.52 to 23.85 in.)
F-Fixing screws

CC006605
CC006606

OUCC006,0000F44 -19-20SEP05-3/3