Adjusting Telescoping Hook-Up

For mower-conditioner equipped with a linkage drawbar tongue or a swivel hitch:

1. Disassemble both half drive lines.

2. Attach the mower-conditioner to the tractor. (See "Attaching and Detaching" section.)

3. Connect the half drive lines to the tractor PTO shaft and the swivel hitch gear case input shaft.

4. Hold the half drive lines next to each other and mark them at distance (A).

5. Shorten inner and outer guard tubes equally.

6. Shorten inner and outer sliding profiles by the same length as the guard tubes.

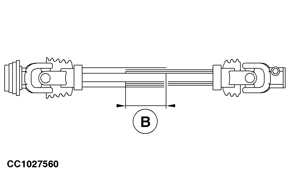
7. In the longest working position, check that the PTO drive shaft has still a minimum overlap of 150 mm (6 in.).

IMPORTANT: Once cut, round off all sharp edges and remove burrs, particularly on the inner face of outer hook-up half.

NOTE: Refer to the basic telescoping hook-up Operator's Manual.


A-50 mm (2 in.)
B-150 mm (6 in.)

CC1026374
CC1027560

OUCC006,0000F45 -19-25OCT05-1/2


CC7083

For mower-conditioners equipped with a pin drawbar tongue:

1. Disassemble both half drive lines.

2. Adjust the tractor drawbar so that dimensions A and B are equal. (See "Adjusting Tractor Drawbar (Pin Drawbar Tongue Only)" in "Preparing the Tractor" Section.)

3. Attach the mower-conditioner to the tractor. (See "Attaching and Detaching" section.)

4. Connect the half drive lines to the tractor PTO shaft and the tongue shaft.

5. Shorten drive shafts and guard tubes to obtain the dimensions specified above.

IMPORTANT: Once cut, round off all sharp edges and remove burrs, particularly on the inner face of outer hook-up half.

OUCC006,0000F45 -19-25OCT05-2/2