Detaching the Mower-Conditioner

causym CAUTION: To prevent injury to bystanders, do not allow persons to remain in the vicinity when detaching the machine.

1. Park mower-conditioner on a level surface, or block mower-conditioner wheels so machine cannot roll after detaching from the tractor.

2. Lower mowing unit.

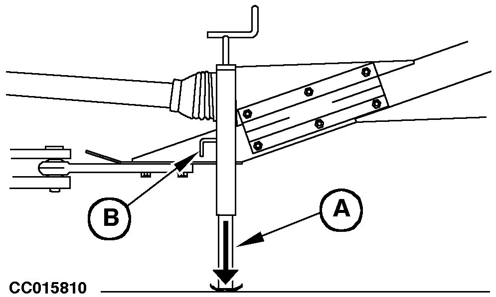
3. Lower jackstand (A) and secure it with latch (B).


A-Jackstand
B-Latch

CC015810

Pin Drawbar Tongue Jackstand

CC1027555

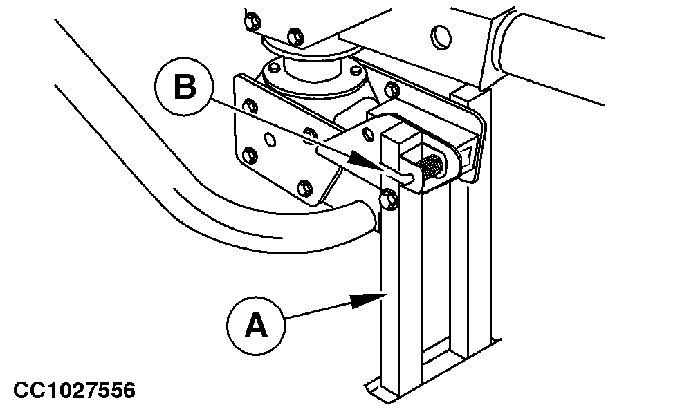
Linkage Drawbar Tongue Jackstand

CC1027556

Swivel Hitch Jackstand

OUCC006,0000F5A -19-27OCT05-1/9


4. Disconnect all the wiring harnesses (road light and implement(s)) and hydraulic hoses. Install protective caps (B) on couplers.

Store wiring harnesses and hydraulic hoses in the provided support (A) to keep them clean by avoiding contact with the ground.

5. If equipped, detach tongue height resume chain from tractor.


A-Support
B-Protective cap

CC015812

Support on Swivel Hitch Shown

OUCC006,0000F5A -19-27OCT05-2/9


6. Raise tractor PTO shield (B), if equipped.

7. Hold guard (D) and pull back on collar (C). Slide driveline off tractor shaft.


A-Chain
B-PTO Shield
C-Collar
D-Cone guard

CC1026411
CC1026410

Disconnecting PTO Shaft

OUCC006,0000F5A -19-27OCT05-3/9


8. Install driveline in storage position.

a. On linkage drawbar tongue:

Loop strap (A) around driveline (B).

CC001339

OUCC006,0000F5A -19-27OCT05-4/9


b. On pin drawbar tongue:

Place driveline (A) on support (B).


A-Driveline
B-Support

CC9232

OUCC006,0000F5A -19-27OCT05-5/9


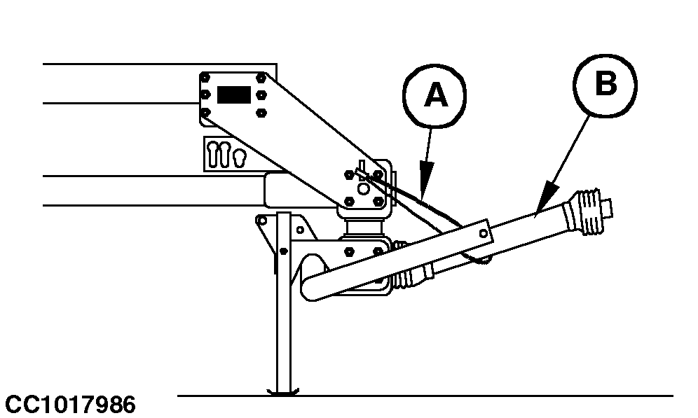
c. On swivel hitch:

Loop strap (A) around driveline (B).


A-Strap
B-Driveline

CC1017986

OUCC006,0000F5A -19-27OCT05-6/9


9. If equipped, detach tongue height resume chain (A) from the tractor.


A-Tongue height resume chain

CC1027657

OUCC006,0000F5A -19-27OCT05-7/9


10. Detach the tongue from the tractor.

a. On pin drawbar tongue:

Slightly raise tongue with jackstand then detach ball joint hitch (A) from tractor drawbar.

Carefully drive tractor away.


A-Ball joint hitch

CC1017842

OUCC006,0000F5A -19-27OCT05-8/9


b. On linkage drawbar tongue and swivel hitch:

Lower tractor draft links until mower-conditioner jackstand rests on the ground.

Remove quick lock pins (C) then slide draft links (A) away from hitch pins (B).

Carefully drive tractor away.


A-Draft links
B-Hitch pin
C-Quick lock pin

CC1027683

Swivel Hitch Shown

OUCC006,0000F5A -19-27OCT05-9/9