Attaching Swivel Hitch to the Tractor

Mower-conditioners equipped with swivel hitch can be attached to any tractor with a three-point hitch conforming to category II, III or III N. See your John Deere dealer to adapt the features of your tractor to those offered by the swivel hitch.

1. If equipped, install the tongue height resume chain on mower-conditioner hitch:

For machines up to S.N. 354999:

Slide the tongue height resume chain (A) over one of the two lower hitch pins (B).

For machines from S.N. 355000:

Install tongue height resume chain (A) into right-hand side threaded hitch pin as shown. Tighten bolt (C) to specified torque:

Specification

Bolt -Torque 350 N·m (255 lb-ft)

CC1027650

For Machines up to S.N. 354999

CC1027659

For Machines from S.N. 355000


A-Tongue height resume chain
B-Lower hitch pins
C-Bolt

OUCC006,0000FAA -19-25OCT05-1/4


2. Connect the two draft links (A) to lower hitch pins (B) and secure by means of quick lock pins (C).

3. Slowly raise mower-conditioner hitch. Check for interference. Lower hitch to ground and adjust if necessary.


A-Draft links
B-Lower hitch pins
C-Quick lock pins

CC1027668

OUCC006,0000FAA -19-25OCT05-2/4


4. Adjust tractor hitch height.

IMPORTANT: Always operate the machine with the PTO driveline levelled. Failure to do so can result in tractor or mower-conditioner damage.

Raise hitch until main PTO driveline is in horizontal position.

If equipped, attach tongue height resume chain (A) to the tractor so that it is just tightened while the PTO driveline is in horizontal position.


A-Tongue height resume chain

CC1027669
CC1027657

OUCC006,0000FAA -19-25OCT05-3/4


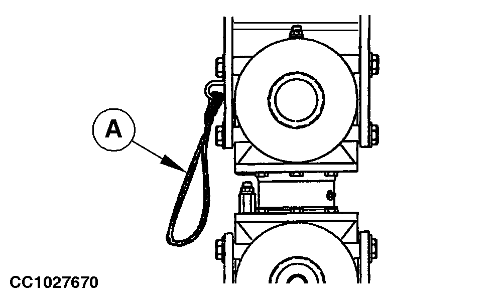
NOTE: Make sure that telescoping hook-up strap (A) stays clear of tractor components at all times.


A-Telescoping hook-up strap

CC1027670

OUCC006,0000FAA -19-25OCT05-4/4