Routing Twine out of Twine Boxes for Double Twine Tying (Baler with 4 Balls Side Twine Box)

1. Open trash screen, then twine box cover (A).

NOTE: In joining twine, use a modified square knot with sisal twine and a sheet bend knot with plastic twine. Trim loose ends of twine as close to knot as possible.

2. Pull inside twine end of the second ball of the front twine box through opening (D).

3. Join the outside twine end of the second ball to the inside twine end of the third ball.

4. Join the outside twine end of the third ball to the inside twine end of the fourth ball.

5. Pull inside twine end of the fifth ball through guide (B) and join it to the outside twine end of the fourth ball.

6. Join outside twine end of the fifth ball to the inside twine end of the last ball.

7. Pull inside twine end of the first ball of the front twine box through opening (C).

CC1020331


A-Cover
B-Guide
C-Opening
D-Opening

CC03745,000027B -19-08AUG01-1/2


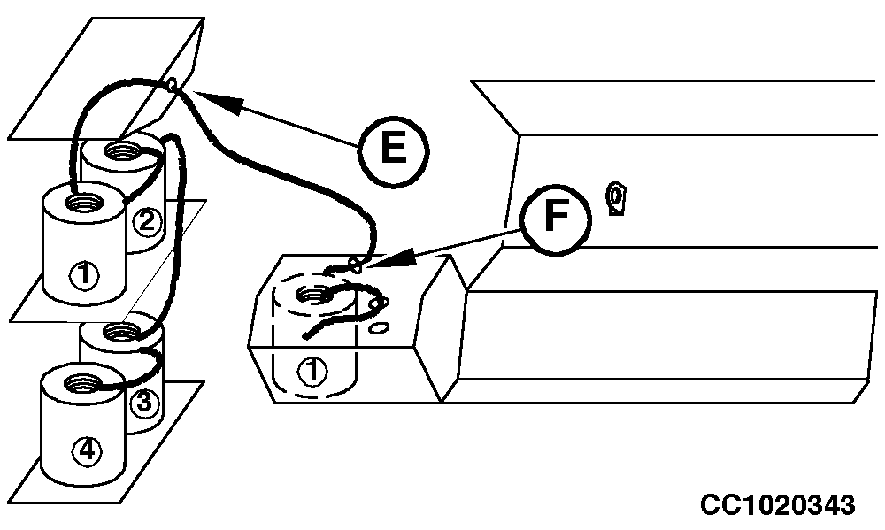
8. Pull inside twine of the first side twine box ball through opening (E) and (F) and join it to the outside twine end of the first front twine box ball.

9. Pull inside twine end of the second side twine box ball behind the partition and join it to the outside end of the first side twine box ball.

10. Pull inside twine end of the third side twine box ball behind the side twine box and join it to the outside end of the second side twine box ball.

11. Pull inside twine end of the fourth side twine box ball behind the partition and join it to the outside twine end of the third side twine box ball.

12. Close twine box cover (A) and right-hand door.

CC1020343


E-Opening
F-Opening

CC03745,000027B -19-08AUG01-2/2