Using Drawbar Shield

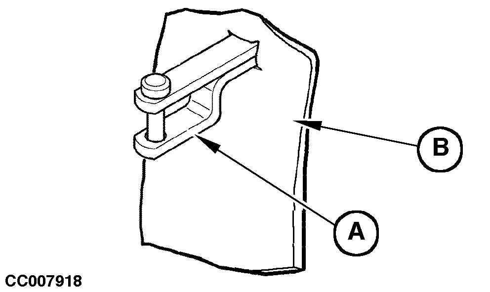
If a tractor drawbar (A) catches and disturbs the windrow under the tractor, a drawbar shield (B) can be used.

CC007918

CC,570RB003439 -19-15SEP98-1/2


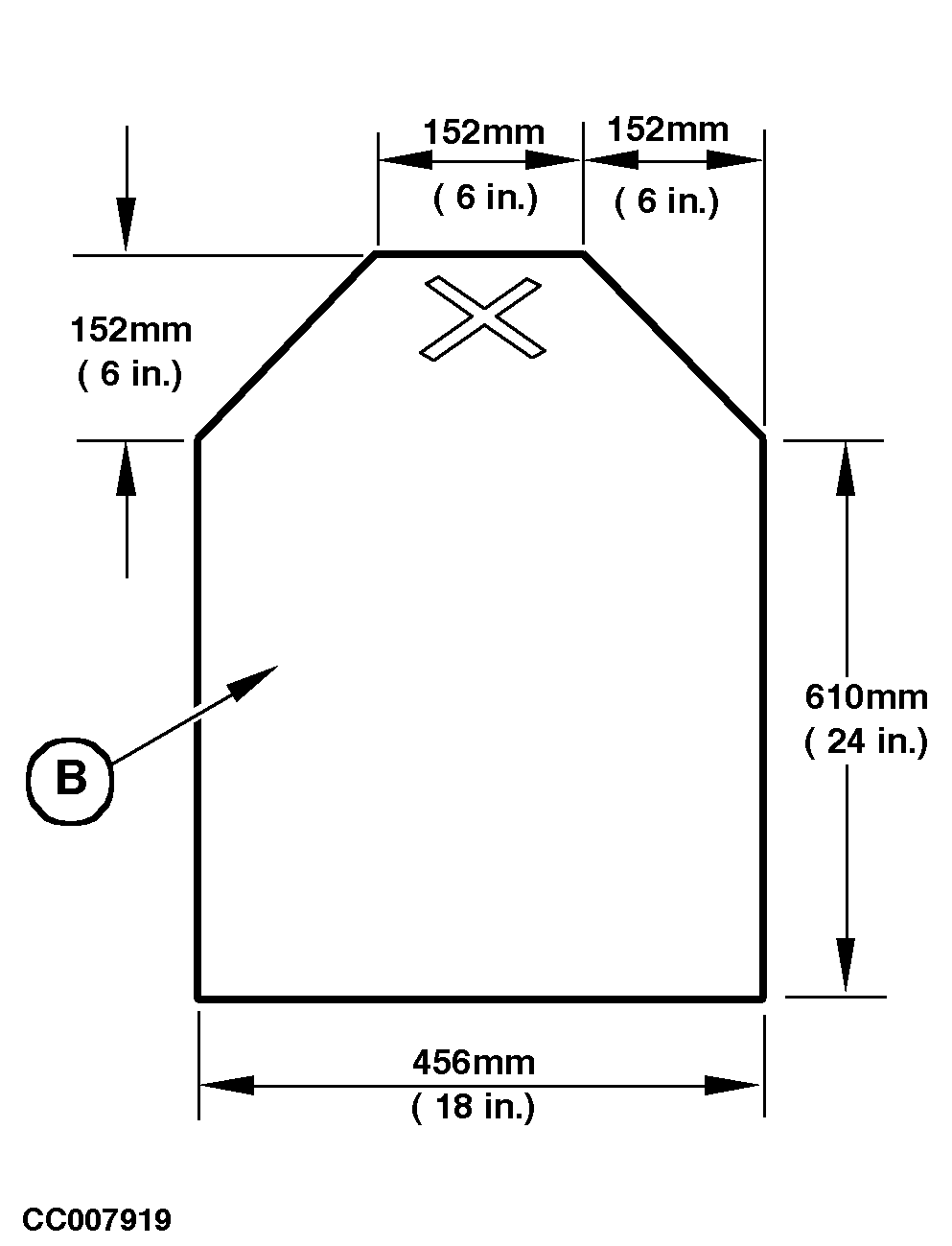
Use the sketch opposite as an example to make a shield (B) using 2 or 4 ply belting.

CC007919

CC,570RB003439 -19-15SEP98-2/2