Adjusting Single Arm Twine Tying Starting Point (Baler with BaleTrak Control)

After having replaced or serviced the twine arm or the twine arm actuator, the twine arm starting point must be adjusted.

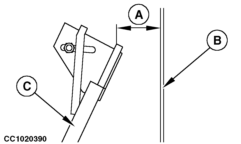
There must be a distance (A) of 80 mm (3.15 in.) between left-hand panel of bale chamber (B) and twine arm (C) when twine arm actuator is fully extended.

Adjust as follows:

1. Move twine arm to the extreme left-hand position by pressing "EXTEND" key. The actuator is now fully extended.

2. Loosen cap screw (E).

3. Move actuator support (F) in slot (G) to obtain specified distance (A).

4. Retighten cap screw (E).

5. Move twine arm to home position and check that twine arm has a positive action on twine cutter linkage.

6. Calibrate twine arm actuator. (See "Channel 029: Calibration of Twine Actuator" in "BaleTrak Monitor Service" section.)

CC1020390
CC000919


A-80 mm (3.15 in.)
B-Left-hand panel of bale chamber
C-Twine arm tip
D-Twine cutter linkage
E-Cap screw
F-Actuator support
G-Adjusting slot

OUCC006,000046F -19-29AUG01-1/1