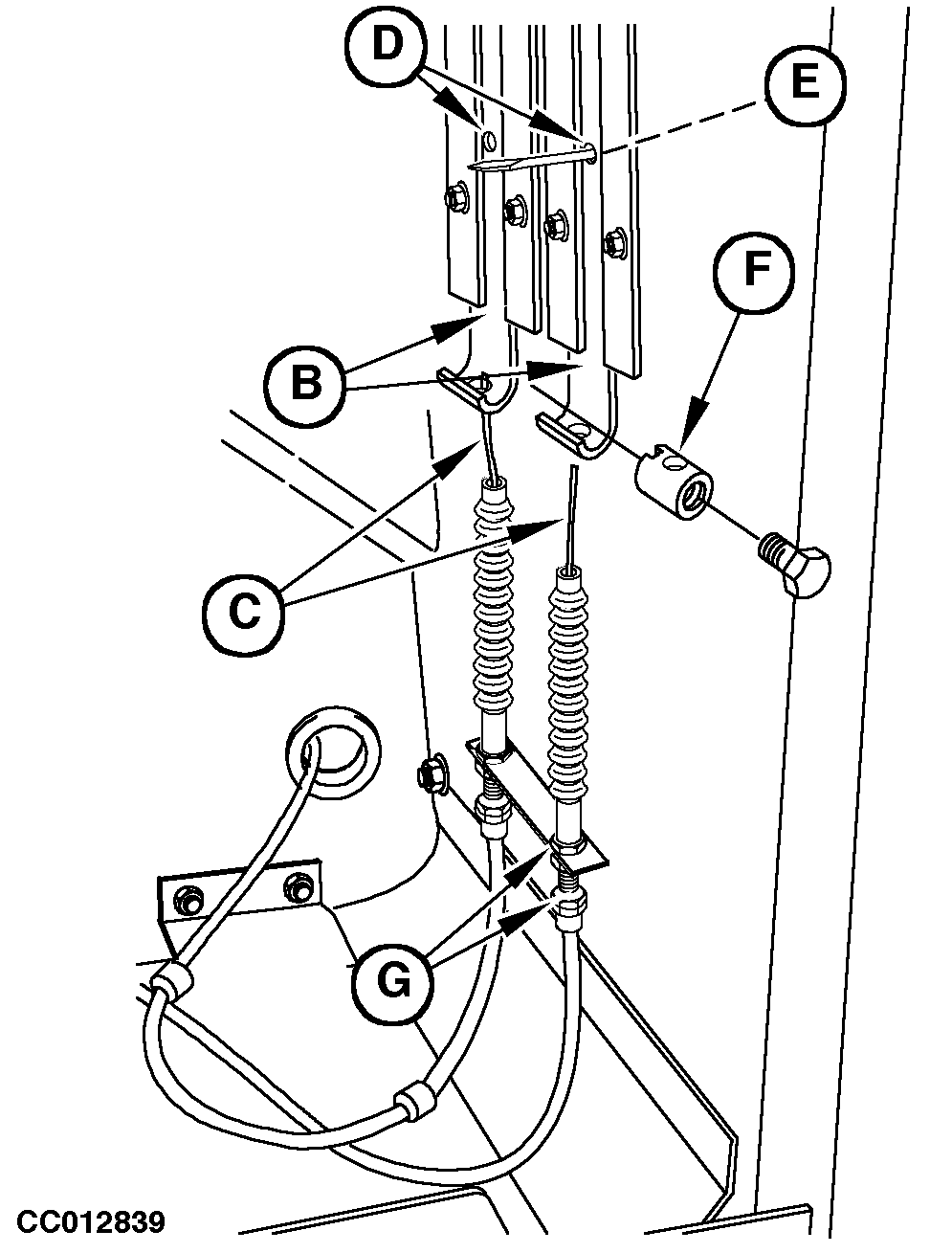
Adjusting Bale Shape Indicator Straps

Close the gate so that gate dogs (A) are fully retracted, then check that red zones of the two bale shape indicator straps (B) are flush with the bottom of bale shape windows.

If necessary, adjust length of relevant bowden cable (C) as follows:

1. Align relevant strap hole (D) with the front sheet hole (E) by inserting a small screwdriver as shown.

2. Adjust cable clamp (F) until there is no play between clamp and strap (B) and tighten clamp.

3. Slightly tighten cable (C) using adjusting screw (G) so that screwdriver can be removed without adjustment modification.


A-Gate dog
B-Bale shape indicator strap
C-Bowden cable
D-Strap hole
E-Front sheet hole
F-Cable clamp
G-Adjusting screw

CC006732
CC012839

OUCC006,000049F -19-06SEP01-1/1