Adjusting Single Arm Twine Tying Starting Point (Baler without BaleTrak Control)

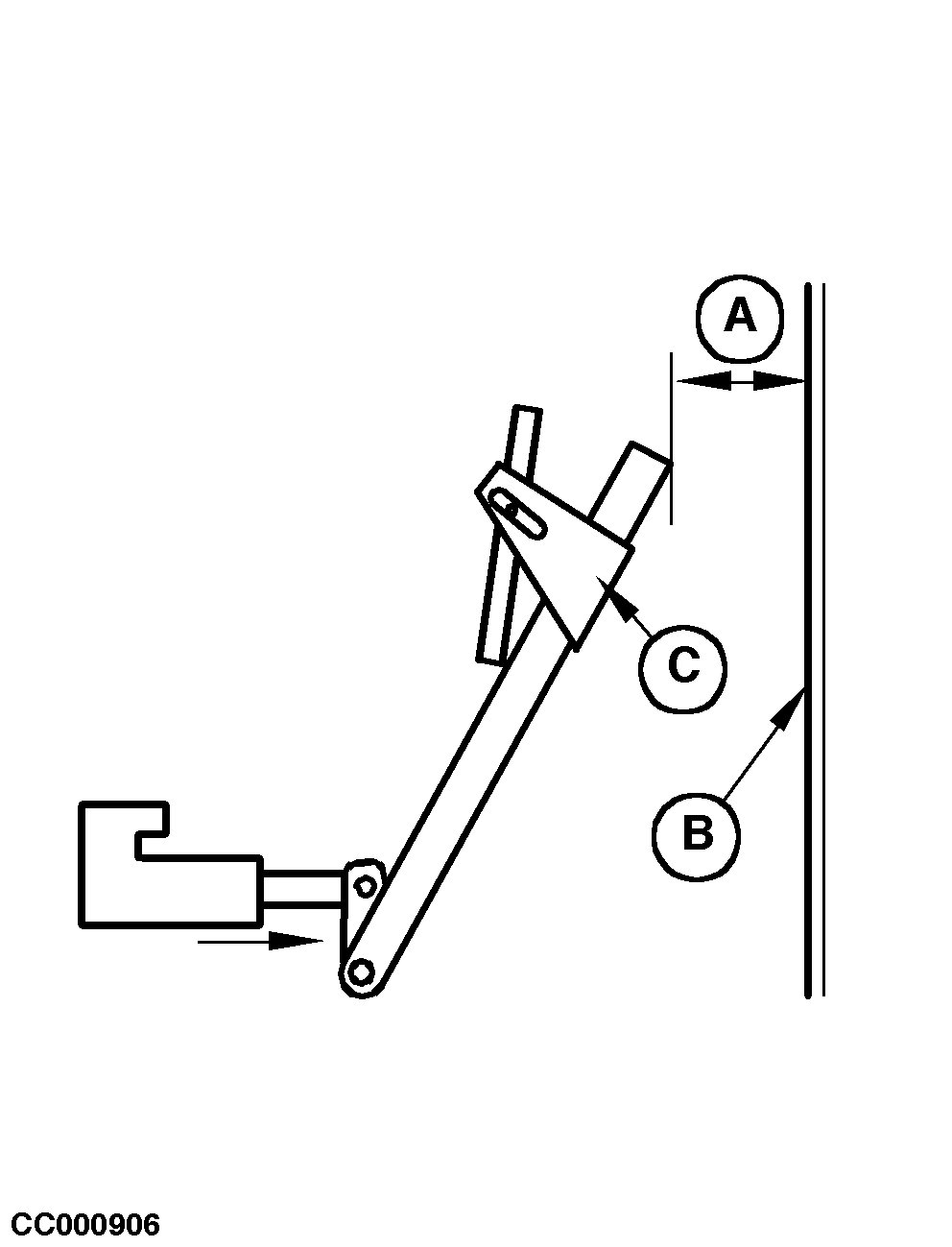
There must be a distance (A) of 80 to 150 mm (3.15 to 5.90 in.) between left-hand panel of bale chamber (B) and tip of twine arm (C). The twine arm must also exert a positive action on twine cutter linkage (D) on its way back to "home" position, otherwise twine will not be cut.

Adjust as follows:

1. Move twine arm to the extreme left-hand position by means of the control monitor. The actuator is now fully extended.

2. Loosen cap screw (E).

3. Move actuator support (F) in slot (G) to obtain distance (A) from 80 to 150 mm (3.15 to 5.90 in.) and to obtain positive action of twine arm on twine cutter linkage.

4. Retighten cap screw (E).

5. Move twine arm to home position and check that positive action of twine arm on twine cutter linkage is obtained.

NOTE: This adjustment directly influences the twine arm re-extension point when using the baler with the ELC monitor. See "Operating ELC Monitor" Section.


A-80 to 150 mm (3.15 to 5.90 in.)
B-Left-hand panel of bale chamber
C-Twine arm tip
D-Twine cutter linkage
E-Cap screw
F-Actuator support
G-Adjusting slot

CC000906
CC000919

OUCC006,000074E -19-02AUG02-1/1