Adjusting Net Feed Roll Drive Belt Tension (Baler with Standard Net Tying Device)

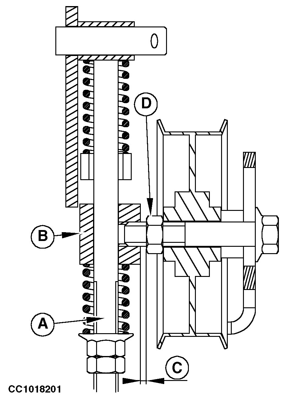
1. Check that the tie bar (A) slides freely inside the guide (B).

2. Make sure to leave a gap (C) of 1 to 2 mm (0.04 to 0.08 in.) between guide (B) and nut (D).

IMPORTANT: Check that net knife arm stop adjustment is correct prior to adjusting the net feed roll drive belt tension. See "Adjusting Net Knife Arm Stop" in this section.

3. Fully extend the actuator (E).

4. Adjust the spring length (F) to 34,5 mm (1.36 in.) for a new belt, or 35 mm (1.38 in.) for a used one.

5. Check that the upper spring (G) is not prestressed. If necessary, take out the spacer (H).

6. Retract/extend the actuator and readjust spring length (F) if necessary.

7. Run belt drive for 15 sec. at full rpm, activate actuator several times. Readjust the belt tension.

8. Extend actuator and check that there is no gap between the two rolls. If necessary, adjust the spring (I) of net feed roll pressure (see "Adjusting Net Feed Roll Pressure" in this section.)


A-Tie bar
B-Guide
C-Gap
D-Nut
E-Actuator
F-Length
G-Upper spring
H-Spacer
I-Spring

CC1018201
CC1020399

OUCC006,0000BC2 -19-31OCT06-1/1