Checking Net Feed Roll Brake (Baler with Standard Net Tying Device)

IMPORTANT: Check that net knife arm stop and net feed roll drive belt adjustments are correct prior to checking the net feed roll brake. See "Adjusting Net Knife Arm Stop" and "Adjusting Net Feed Roll Drive Belt Tension" in this section.

1. Retract actuator (A).

2. Check that the torque required to turn net feed roll (B) is between 40 and 50 N·m (30 and 37 lb-ft).

NOTE: If worn, rubber stop pad can be reversed.

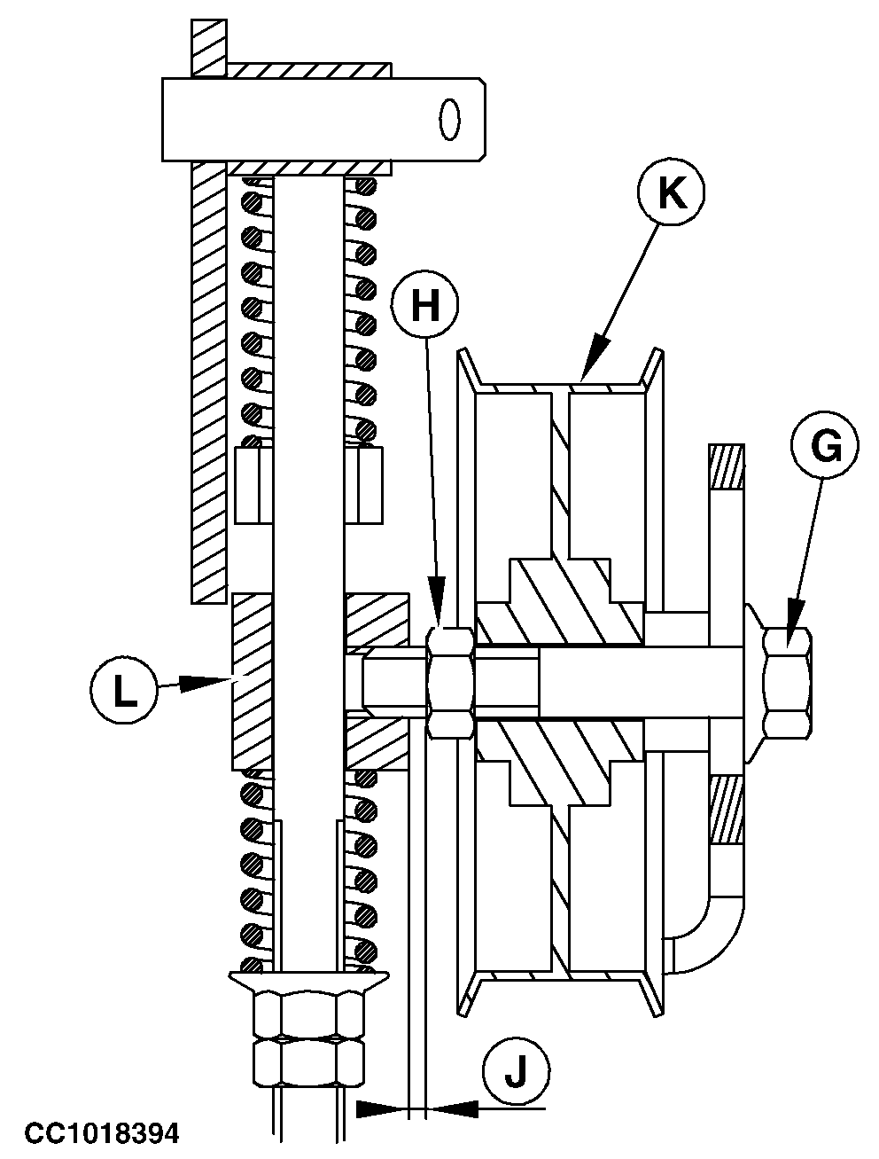
3. If necessary, adjust as follows:

a. Extend the actuator to middle position.

b. Block the screw (G) and loosen nut (H) to maintain the distance (J) between pulley (K) and tension system (L) and adjust screw position in the slot (D).

c. Tighten nut (H).


A-Actuator
B-Net feed roll
C-Arm
D-Slot
E-Rubber stop
F-Pulley
G-Screw
H-Nut
J-1.5 ± 0.5 mm (0.06 ± 0.02 in.)
K-Pulley
L-Tension system

CC1018199
CC1018394

OUCC006,0000BC3 -19-31OCT06-1/1