Adjusting Twine Cutters (Double Arm Twine Tying)

causym CAUTION: Keep clear of the machine while operating twine arms.

IMPORTANT: Be sure that the cutting face of cutters (C) is oriented in forward direction.

To adjust cutter high position, proceed as follows:

1. Slightly extend twine arms.

2. Switch off monitor.

3. Loosen nut (A).

4. Slide support (B) so that the cutters (C) are horizontal.

5. Tighten nut (A).


A-Nut
B-Support
C-Cutters

CC1023410

OUCC006,0000BC6 -19-02FEB07-1/5


6. Check that cutter bracket (A) turns freely.

  • If not:

    a. Add washer(s) (B) between anvil and cutter brackets.
    b. Remove shim(s) (C) between anvil bracket and side panels.


A-Cutter bracket
B-Washer(s)
C-Shim(s)

CC1025452

OUCC006,0000BC6 -19-02FEB07-2/5


To adjust cutter low position and springs, proceed as follows:

1. Loosen bolts (D) and (E).

2. Right cutter adjustment:

a. Slide cutter to obtain a clearance (A) of 3.5 ± 0.5 mm (0.14 ± 0.02 in.) and a distance (C) above 1 mm (0.04 in.). The cutter edges must be in contact with the anvil.

b. Tighten bolts (E) of right cutter.

c. Slide spring to obtain a clearance (B) of 2.5 ± 0.5 mm (0.06 ± 0.02 in.).

d. Tighten bolts (D) of right spring.


A-Cutter clearance
B-Spring clearance
C-Distance
D-Spring bolts
E-Cutter bolts

CC1025450

OUCC006,0000BC6 -19-02FEB07-3/5


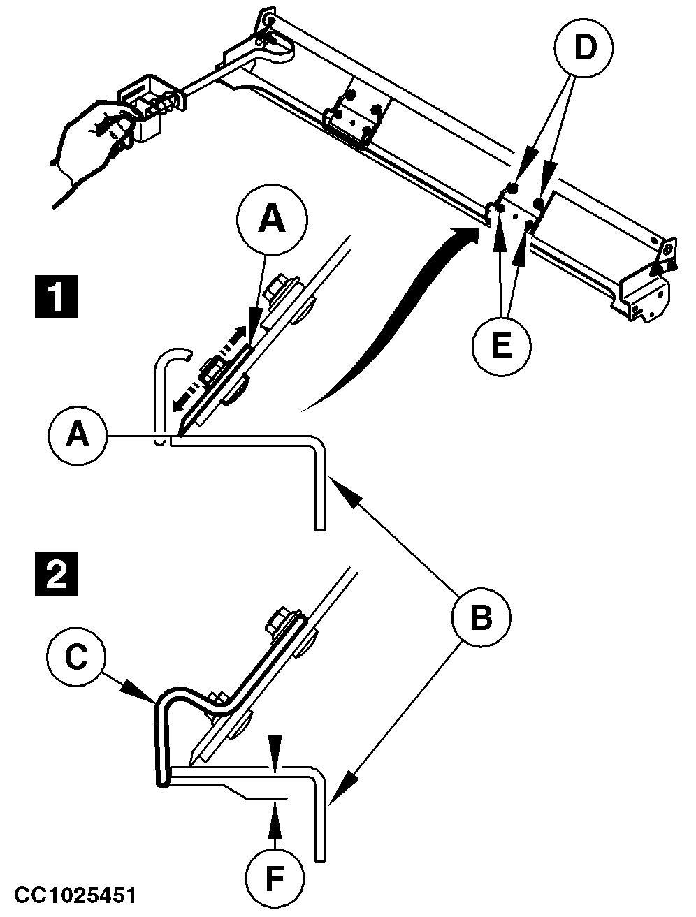
3. Left cutter adjustment:

IMPORTANT: Always start by adjusting the right cutter.

a. Slide cutter (A) to be in contact with anvil (B).

b. Tighten bolts (E).

c. Slide spring to obtain a clearance (F) of 2.5 ± 0.5 mm (0.06 ± 0.02 in.).

d. Tighten bolts (D).


A-Cutter
B-Anvil
C-Spring
D-Spring bolts
E-Cutter bolts
F-Spring clearance

CC1025451

OUCC006,0000BC6 -19-02FEB07-4/5


Checking the cutting action:

1. Place twines (A) under cutters (B).

2. Fully retract the arms.

3. Pull on the twines (A). The twines should be cut.

  • If not, add washer(s) (E) between right arm (C) and twine cutter linkage (D).


A-Twines
B-Cutters
C-Right arm
D-Twine cutter linkage
E-Washer(s)

CC1025453

OUCC006,0000BC6 -19-02FEB07-5/5