Connecting Air Brakes (If Equipped)

IMPORTANT: Follow the colors of the couplers.

NOTE: Couplers and colors comply with 1728 ISO standard.

Ensure that the connections are clean before joining the compressed air hoses. Seal the connections with the dust caps whenever the hoses are disconnected.

Connect yellow hose at connection (A) then red hose at connection (C). Disconnect in reverse order.

IMPORTANT: To prevent undue wear on the brakes, observe the following points:

  • Make sure that the pressure hoses are connected.

  • When driving downhill, select the same gear you would for driving uphill.

  • Check the air brake on the trailer regularly to make sure that it is functioning correctly.

NOTE: When the brake hoses are disconnected from the tractor brake system, the brakes of the machine are automatically engaged. (See "Parking the Machine" in "Transporting" Section.)

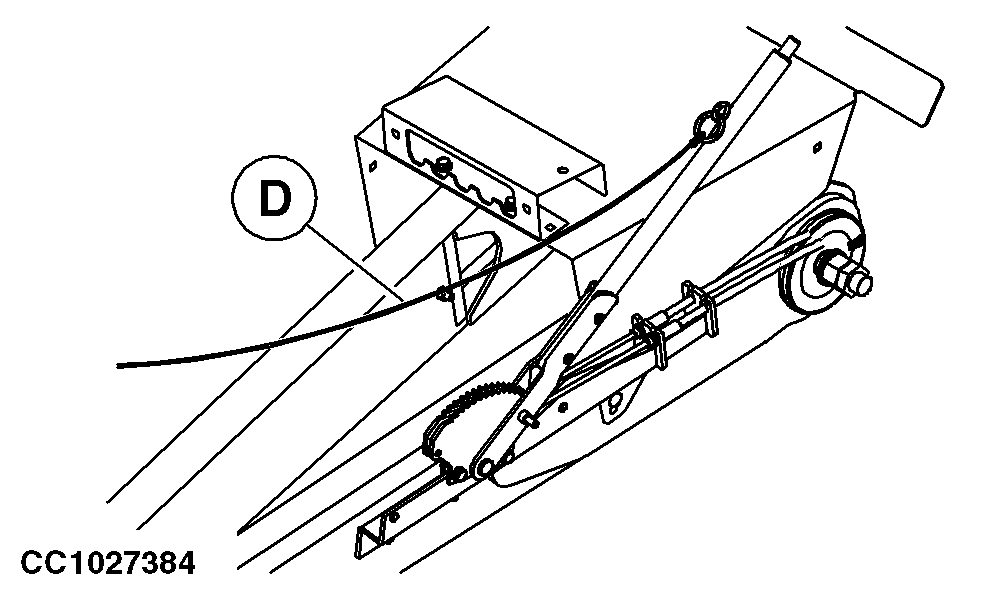
Connect safety rope (D) to tractor. The safety rope engages the parking brake in case the machine accidentally detaches from the tractor.

LX1031730
CC1027384


A-Yellow (dual-line brake)
B-Black (single-line brake)
C-Red (dual-line brake, supply)
D-Safety rope

OUCC006,0000E91 -19-19JUL05-1/1