Adjusting Drawbar

IMPORTANT: Before attaching baler, be sure to adjust drawbar. Replace all shields.

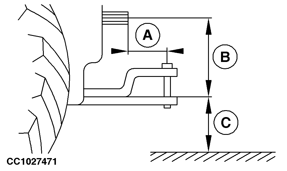
Vertically align drawbar hitch pin hole with centerline of tractor PTO shaft.

Set drawbar to the following specifications:

Specification

End of PTO shaft to drawbar hitch pin hole axis (A) -Distance 355 mm (14 in.)
PTO shaft centerline to drawbar upper face (B) -Distance 150 - 305 mm (6 - 12 in.)
Ground to drawbar upper face (C) -Distance 330 - 510 mm (13 - 20 in.)

CC1027471


A-355 mm (14 in.)
B-150 - 305 mm (6 - 12 in.)
C-330 - 510 mm (13 - 20 in.)

OUCC006,0000EF4 -19-19JUL05-1/1