Connecting to Tractor Hydraulic System

causym CAUTION: Maximum working pressure of baler hydraulic hoses is about 20000 kPa (200 bar; 2900 psi). To avoid injury from escaping fluid under pressure, stop engine and relieve the pressure in the system before disconnecting or connecting hydraulic or other lines. Tighten all connections before applying pressure.

IMPORTANT: All hydraulic couplers must be clear of debris, dust and sand. Use protective caps on fluid openings until ready to make connection. Foreign material can damage the hydraulic system.

NOTE: ISO hydraulic couplers are standard with the baler. If they do not fit the tractor, see your John Deere dealer for correct coupler.

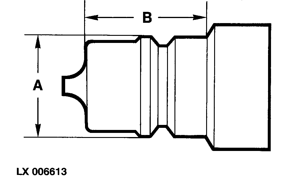
Specification

A -Diameter 23.66 - 23.74 mm (0.931 - 0.934 in.)
B -Length 24 mm (0.945 in.)

1. Locking SCV (Selective Control Valve) Levers

If equipped, push tractor SCV lever lockouts (A) to the right (transport lock) before attaching implements to prevent implement movement and possible personal injury.

LX006613
LX1026123


A-SCV lever lockouts

OUCC006,00010B9 -19-11JAN07-1/2


2. Connecting Gate and Pickup Lift Hydraulic Hoses

Push hoses firmly into tractor receptacles.

Connect gate hydraulic hoses (A) to a double-acting SCV to operate the gate. The gate should open when tractor SCV lever is moved rearward.

Connect pickup lift hydraulic hose (B) to a single-acting SCV. The pickup should raise when tractor SCV lever is moved rearward.

NOTE: Refer to your tractor Operator's Manual to connect pickup hydraulic hose to the recommended outlet.

CC1026073


A-Gate hydraulic hoses
B-Pickup hydraulic hose

OUCC006,00010B9 -19-11JAN07-2/2