Parking the Machine (Baler with Hydraulic and Air Brakes)

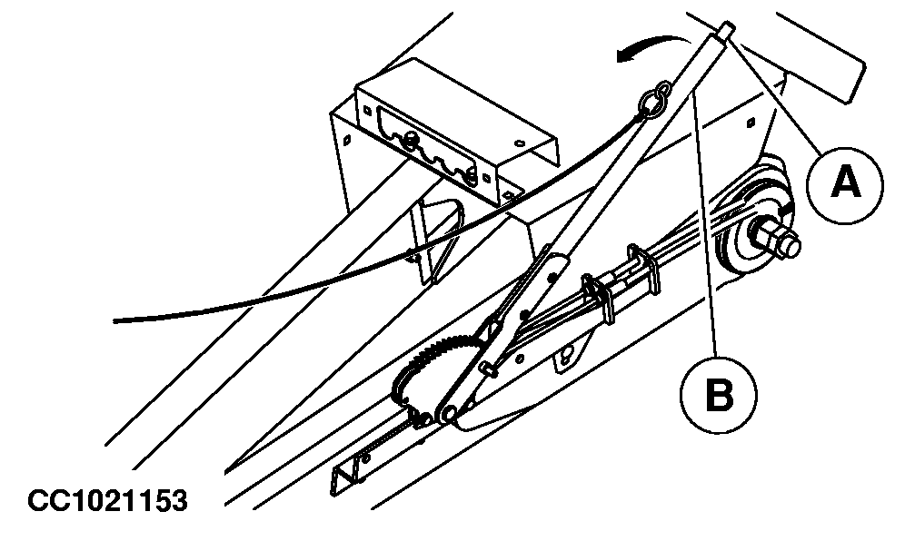
Parking Brake

Pull lever (B) to engage parking brake.

To disengage parking brake, pull lever (B), push button (A) then release lever.


A-Button
B-Lever

CC1021153

OUCC006,00010BD -19-11JAN07-1/2


Air Brake Valve

When the air brake hoses are not connected or accidentally disconnected from the tractor, the round baler brakes are automatically engaged.

To release round baler brakes manually, press on button (A).

The round baler brakes are automatically released when the air brake hoses are reconnected to the tractor brake system.


A-Button

CC1020397

Air Brake Valve

OUCC006,00010BD -19-11JAN07-2/2